授权公布号:CN214387201U
一种自助贩卖咖啡机使用的推杆电机式自动压盖机构
有效
申请
2020-12-15
申请公布
1970-01-01
授权
2021-10-15
预估到期
2030-12-15
| 申请号 | CN202023005689.7 |
| 申请日 | 2020-12-15 |
| 授权公布号 | CN214387201U |
| 授权公告日 | 2021-10-15 |
| 分类号 | A47J31/44 |
| 分类 | 家具;家庭用的物品或设备;咖啡磨;香料磨;一般吸尘器; |
| 申请人名称 | 大连富士冰山自动售货机有限公司 |
| 申请人地址 | 辽宁省大连市经济技术开发区湾达路51号 |
专利法律状态
2021-10-15
授权
状态信息
授权
摘要
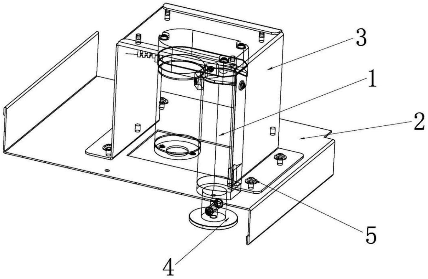
一种自助贩卖咖啡机使用的推杆电机式自动压盖机构,属于自助贩卖咖啡机领域。方案如下:包括:推杆电机、底座、推杆电机固定金、推杆电机压板,所述推杆电机压板与所述推杆电机连接,所述推杆电机安装在所述推杆电机固定金上,所述推杆电机固定金安装在所述底座上。有益效果是:本实用新型所述的自助贩卖咖啡机使用的推杆电机式自动压盖机构通过推杆电机带动推杆电机压板对杯盖进行压紧;通过自动落盖机构使杯盖滑落至纸杯托架;通过搬送部机构实现将纸杯运送至杯盖分离器及推杆电机压板指定坐标位置;给纸杯加盖并压紧后能有效防止咖啡往外泼洒、烫伤消费者,咖啡中落入灰尘,有效起到保温作用,提高用户消费体验。


