授权公布号:CN214048494U
一种电磁铁式一时保留机构及其台式咖啡机
有效
申请
2020-09-08
申请公布
1970-01-01
授权
2021-08-27
预估到期
2030-09-08
| 申请号 | CN202021937077.9 |
| 申请日 | 2020-09-08 |
| 授权公布号 | CN214048494U |
| 授权公告日 | 2021-08-27 |
| 分类号 | A47J31/00;A47J31/44 |
| 分类 | 家具;家庭用的物品或设备;咖啡磨;香料磨;一般吸尘器; |
| 申请人名称 | 大连富士冰山自动售货机有限公司 |
| 申请人地址 | 辽宁省大连市经济技术开发区湾达路51号 |
专利法律状态
2021-08-27
授权
状态信息
授权
摘要
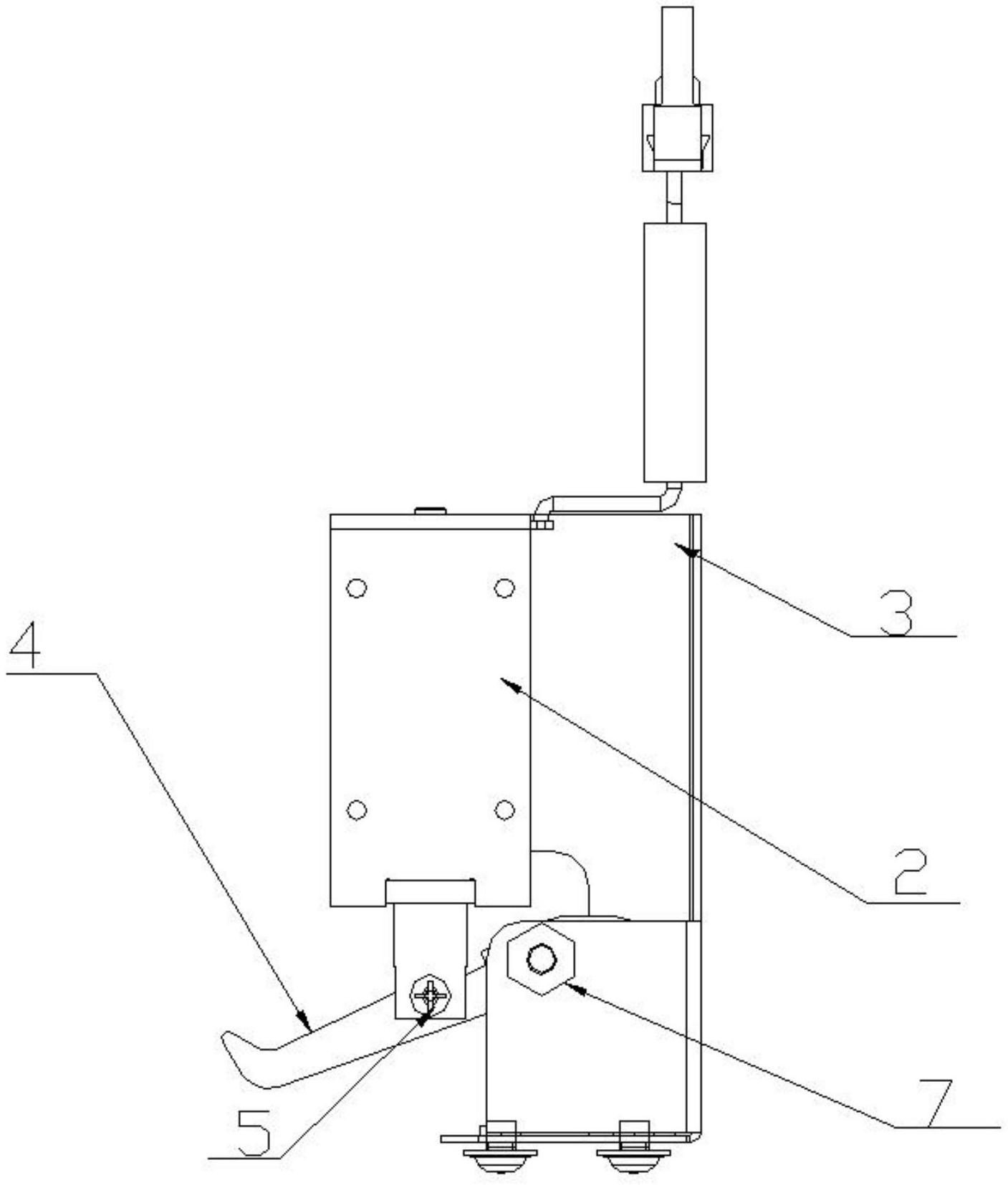
本实用新型涉及一种电磁铁式一时保留机构及其台式咖啡机,属于台式咖啡机领域。本实用新型采用以下技术方案:电磁铁式一时保留机构包括底座、电磁铁、电磁铁固定金、拨叉、连接螺栓、固定螺母、塞打螺栓、紧固螺钉;其中,电磁铁固定在电磁铁固定金上;拨叉位于电磁铁的下方,通过连接螺栓、固定螺母使其与电磁铁的铁芯连接,拨叉另一端通过塞打螺栓固定在电磁铁固定金上,一时保留系统整体通过紧固螺钉固定在底座上。本实用新型的一时保留机构通过电磁铁的吸合动作来控制拨叉的上下动作,无需增加Y轴即可实现粉料保留需求,结构简单巧妙,解决了现有技术中,台式咖啡机无法一时保留粉料的缺陷。


