授权公布号:CN218660078U
一种用于轮胎自动物流输送线的门开式挡胎装置
有效
申请
2022-12-12
申请公布
1970-01-01
授权
2023-03-21
预估到期
2032-12-12
| 申请号 | CN202223341967.5 |
| 申请日 | 2022-12-12 |
| 授权公布号 | CN218660078U |
| 授权公告日 | 2023-03-21 |
| 分类号 | B29C35/02;B29C31/00;B29D30/06;B29L30/00N |
| 分类 | 塑料的加工;一般处于塑性状态物质的加工; |
| 申请人名称 | 巨轮智能装备股份有限公司 |
| 申请人地址 | 广东省揭阳市揭东经济开发区5号路中段 |
专利法律状态
2023-03-21
授权
状态信息
授权
摘要
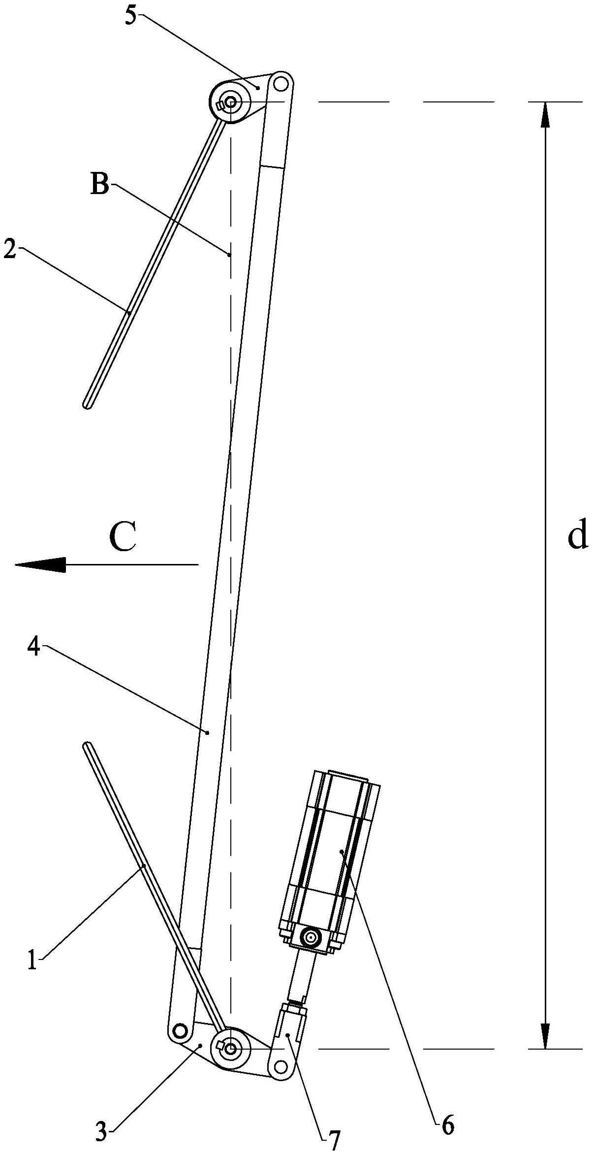
本实用新型涉及一种用于轮胎自动物流输送线的门开式挡胎装置,包括前、后挡板、双连接转动杆、连接杆、单连接转动杆和气缸;气缸的活塞杆与双连接转动杆的右接头铰接,连接杆的前接头与双连接转动杆的左接头铰接,连接杆的后接头与单连接转动杆的右接头铰接;前挡板通过其转臂与双连接转动杆的转动方向垂直安装,后挡板通过其转臂与单连接转动杆的转动方向垂直安装,前挡板转臂与后挡板转臂之间距离固定,前挡板转臂和后挡板转臂的连线与轮胎传送方向垂直;在气缸的活塞杆伸出时,通过连接杆牵引使双连接转动杆、单连接转动杆同步转动,使前、后挡板绕各自转臂转动构成V字形而对轮胎位置进行对中矫正定位。具有结构紧凑、实现轮胎对中矫正定位的优点。


