授权公布号:CN212424090U
一种用于混合注射AB双组胶管
有效
申请
2020-05-15
申请公布
1970-01-01
授权
2021-01-29
预估到期
2030-05-15
| 申请号 | CN202020803688.8 |
| 申请日 | 2020-05-15 |
| 授权公布号 | CN212424090U |
| 授权公告日 | 2021-01-29 |
| 分类号 | B65D81/32;B65D83/76 |
| 分类 | 输送;包装;贮存;搬运薄的或细丝状材料; |
| 申请人名称 | 广州瓷添乐装饰材料有限公司 |
| 申请人地址 | 广东省广州市番禺区大龙街金岗路1号之九103 |
专利法律状态
2021-01-29
授权
状态信息
授权
摘要
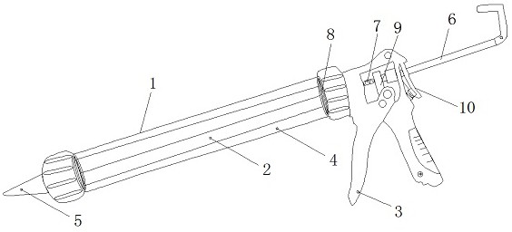
本实用新型公开了一种用于混合注射AB双组胶管,涉及一种AB胶技术领域,包括胶枪本体和AB胶管,所述AB胶管通过水平设置的隔膜分为A腔室和B腔室,在施工过程中,将AB胶管的一端封口绳解开后装入套管内,通过反复手握手柄的扳机挤压AB胶管进行施胶作业,则施工者就不需要单靠目测或者感觉去拿A胶和B胶平均搅拌了,施工者通过胶枪本体直接将AB胶同时挤压出来,从而达到AB胶混合的目的,在包装材料上可以节省包装材料的浪费,从而也提高了经济效益,施工效果也提高了、产品质量施工的质量更加稳定;同时本实用新型的胶枪本体可以采用通用的手动胶枪进行替代,有效增加了装置的通用性,满足不同的操作人员的使用需求。


