授权公布号:CN217330296U
一种太阳能热泵热电联产双源的系统
有效
申请
2021-11-30
申请公布
1970-01-01
授权
2022-08-30
预估到期
2031-11-30
| 申请号 | CN202122976557.7 |
| 申请日 | 2021-11-30 |
| 授权公布号 | CN217330296U |
| 授权公告日 | 2022-08-30 |
| 分类号 | F25B13/00;F25B29/00;F25B39/02;F25B41/20;F25B41/34;H02S40/44;H02J7/35 |
| 分类 | 制冷或冷却;加热和制冷的联合系统;热泵系统;冰的制造或储存;气体的液化或固化; |
| 申请人名称 | 银川艾尼工业科技开发股份有限公司 |
| 申请人地址 | 宁夏回族自治区银川市贺兰县德胜工业园区宁平街2号 |
专利法律状态
2022-08-30
授权
状态信息
授权
摘要
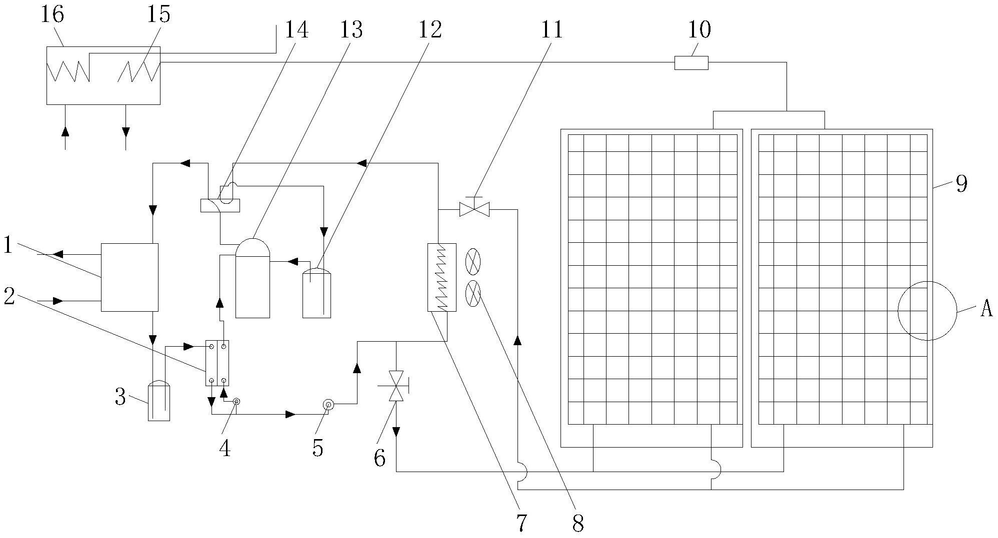
本实用新型公开了一种太阳能热泵热电联产双源的系统,属于太阳能利用技术领域,包括四通阀,所述四通阀的第一进口通过管路连接有变频压缩机,所述四通阀的第二出口通过管路连接有换热器,所述换热器的第二出口连接有热水出水管路,所述换热器的第三进口连接有热水进水管路,所述换热器的第四出口通过管路连接有储液器,所述储液器的出口通过管路连接有经济器;本实用新型通过变频压缩机,配合光伏PVT发电吸热蒸发器一体板内的吸热蒸发器、内置蒸发器和换热风机,外加可以直、交流电加热的储热水箱,能够实现热能和电能的分别采集并同时利用,能够满足全年的制热供暖、制冷和热水需求,最大程度的利用太阳能。


