授权公布号:CN218564139U
一种可拆卸锁紧装置
有效
申请
2022-09-28
申请公布
1970-01-01
授权
2023-03-03
预估到期
2032-09-28
| 申请号 | CN202222587958.8 |
| 申请日 | 2022-09-28 |
| 授权公布号 | CN218564139U |
| 授权公告日 | 2023-03-03 |
| 分类号 | F16B35/00;F16B39/282 |
| 分类 | 工程元件或部件;为产生和保持机器或设备的有效运行的一般措施;一般绝热; |
| 申请人名称 | 重庆机床(集团)有限责任公司 |
| 申请人地址 | 重庆市南岸区江溪路6号 |
专利法律状态
2023-03-03
授权
状态信息
授权
摘要
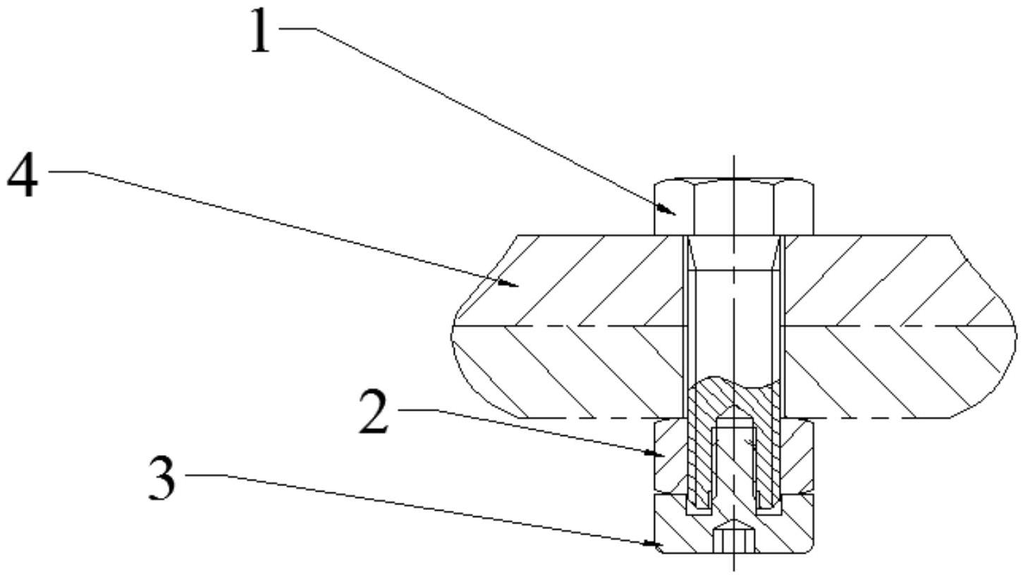
本实用新型提供一种可拆卸锁紧装置,包括螺栓、螺母和紧固部件,其中,所述螺栓包含第一端部和第一螺杆,第一螺杆上具有外螺纹,第一螺杆内部具有与其同轴设置的螺纹孔,螺纹孔的螺纹的方向与第一螺杆上的外螺纹的方向相反;螺母与螺栓相匹配;紧固部件包含第二端部和第二螺杆,第二螺杆具有外螺纹,第二螺杆与螺纹孔相匹配以使得螺母和紧固部件的松动方向相反,第二端部朝向第二螺杆的一面具有环形凸起,以使得当螺母和紧固部件在锁紧状态时,环形凸起和螺母紧密接触。本实用新型的紧固效果更好,且结构简单,操作方便。


