授权公布号:CN218363318U
双头立车工件翻转装置
有效
申请
2022-10-31
申请公布
1970-01-01
授权
2023-01-24
预估到期
2032-10-31
| 申请号 | CN202222916661.1 |
| 申请日 | 2022-10-31 |
| 授权公布号 | CN218363318U |
| 授权公告日 | 2023-01-24 |
| 分类号 | B23Q1/25 |
| 分类 | 机床;不包含在其他类目中的金属加工; |
| 申请人名称 | 重庆机床(集团)有限责任公司 |
| 申请人地址 | 重庆市南岸区江溪路6号 |
专利法律状态
2023-01-24
授权
状态信息
授权
摘要
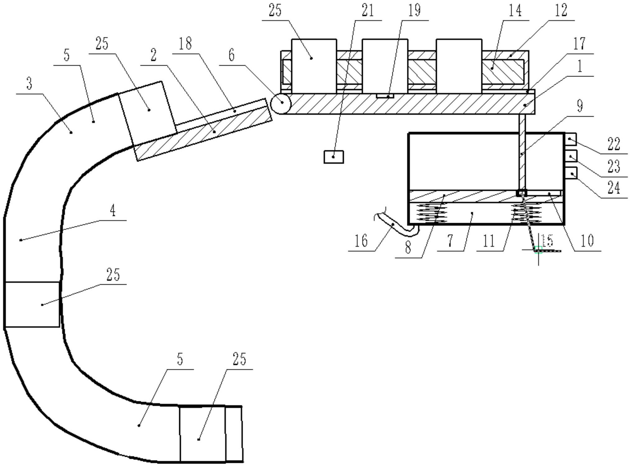
本实用新型属于工件翻转设备技术领域,具体公开了一种双头立车工件翻转装置,包括机架和翻转机构,翻转机构包括摆动板、导向板和导向管;摆动板的初始状态为水平,摆动板的一端与机架转动铰接,摆动板连接有控制机构,摆动板设有固定工件的夹持机构;导向板的一端位于摆动板与机架铰接处的外侧下方,导向板另一端向摆动板外侧延伸,导向板自摆动板所在侧向外且朝下倾斜设置;导向管包括一根竖直管和两根弧形管,所述两根弧形管的一端分别与竖向管的两端连通,弧形管的凹陷侧相对设置,导向管的一端与导向板远离摆动板的一侧连接,另一端为出料端,导向管的内壁可与工件的外壁贴合。采用本技术方案,利用翻转机构,实现工件批量翻转,提供效率。


