授权公布号:CN216970129U
一种气体保护装置
有效
申请
2021-12-17
申请公布
1970-01-01
授权
2022-07-15
预估到期
2031-12-17
| 申请号 | CN202123200294.7 |
| 申请日 | 2021-12-17 |
| 授权公布号 | CN216970129U |
| 授权公告日 | 2022-07-15 |
| 分类号 | B65B31/02 |
| 分类 | 输送;包装;贮存;搬运薄的或细丝状材料; |
| 申请人名称 | 四川美大康华康药业有限公司 |
| 申请人地址 | 四川省德阳市绵竹经济开发区江苏工业园镇江路1号 |
专利法律状态
2022-07-15
授权
状态信息
授权
摘要
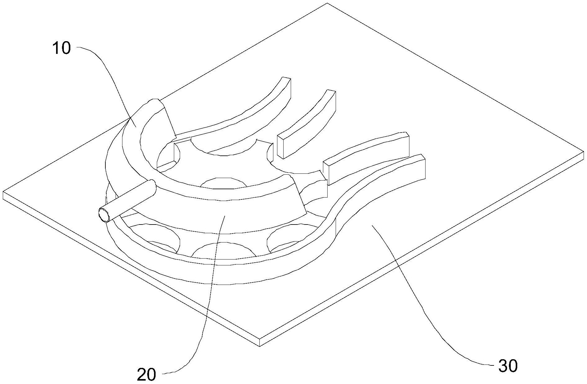
本实用新型涉及灌装设备,提供了一种气体保护装置,包括水平设置且两端封口的气管,设于所述气管下侧的排气孔,一对分别设于所述气管两侧的挡板,与所述气管导通连接的连接管,以及与所述连接管导通连接的供气装置;所述挡板的长度方向平行于所述气管的长度方向;一对所述挡板上侧均与所述气管外壁固定连接,一对所述挡板呈倒V字形。本实用新型的气体保护装置,能够有效地保护惰性气体,避免其大量地被流动的空气带走。


