授权公布号:CN216418402U
一种萃取分液装置
有效
申请
2021-11-18
申请公布
1970-01-01
授权
2022-05-03
预估到期
2031-11-18
| 申请号 | CN202122841098.1 |
| 申请日 | 2021-11-18 |
| 授权公布号 | CN216418402U |
| 授权公告日 | 2022-05-03 |
| 分类号 | B01D17/12;B01D17/025;B01D11/04 |
| 分类 | 一般的物理或化学的方法或装置; |
| 申请人名称 | 四川美大康华康药业有限公司 |
| 申请人地址 | 四川省德阳市绵竹经济开发区江苏工业园镇江路1号 |
专利法律状态
2022-05-03
授权
状态信息
授权
摘要
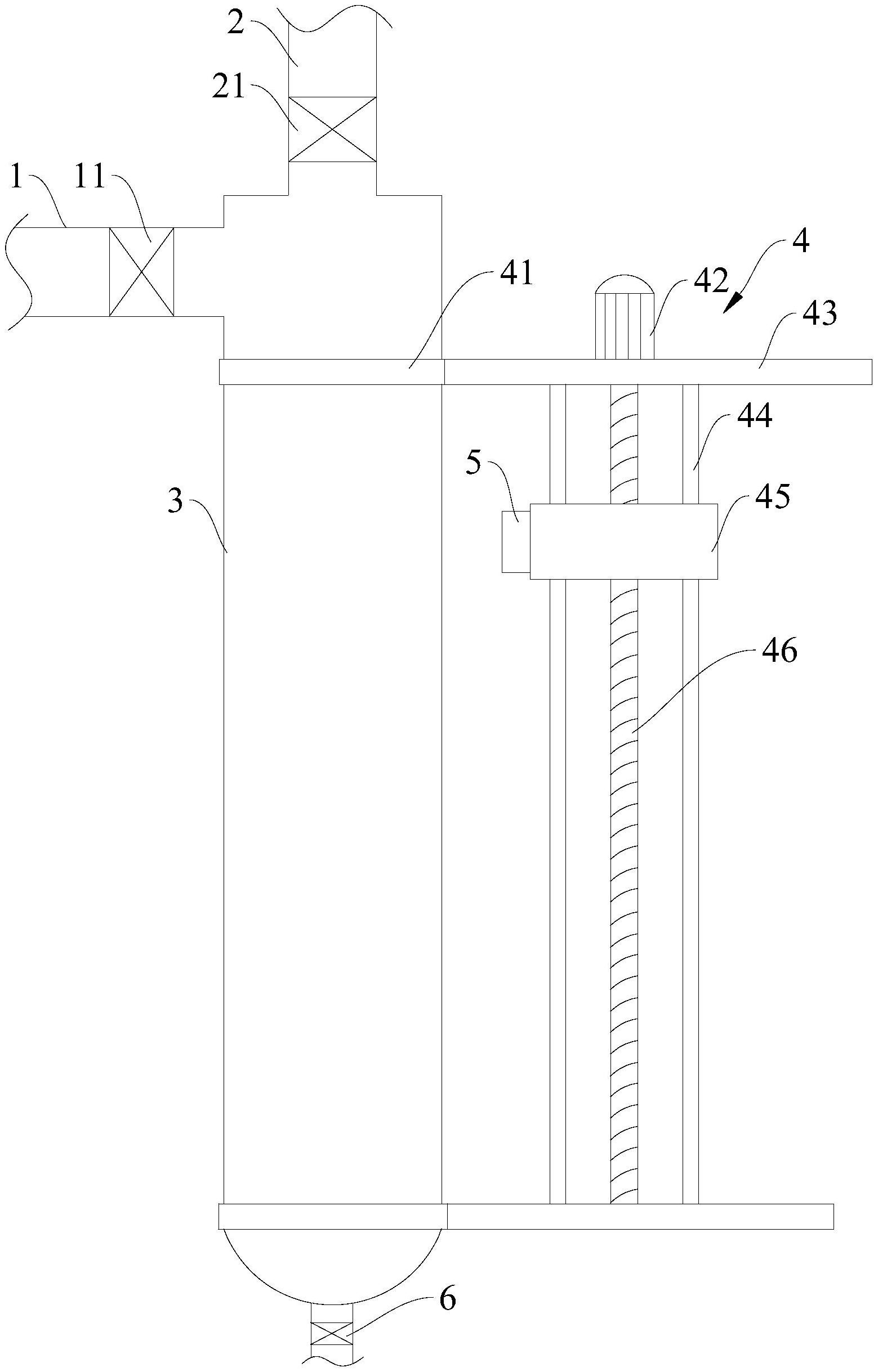
本实用新型提供了一种萃取分液装置,包括萃取管,所述萃取管底部设置有出料口,所述出料口上设置有分液阀;所述萃取管一侧设置有检测装置,所述检测装置包括光源检测器,以及驱动所述光源检测器沿所述萃取管的长度方向移动的驱动机构;所述萃取管位于图像采集设备的拍摄视角内,且所述光源检测器与分液阀电连接,用以控制所述分液阀的开启与关闭;其可利用光在不同的介质的折射率的不同,配以自动控制,实现自动控制分液阀门的开启,从而保证分液萃取的顺利实施。


