授权公布号:CN216433851U
一种完整性测试仪防返水装置
有效
申请
2021-11-18
申请公布
1970-01-01
授权
2022-05-03
预估到期
2031-11-18
| 申请号 | CN202122837056.0 |
| 申请日 | 2021-11-18 |
| 授权公布号 | CN216433851U |
| 授权公告日 | 2022-05-03 |
| 分类号 | G01N15/08;G01M13/00 |
| 分类 | 测量;测试; |
| 申请人名称 | 四川美大康华康药业有限公司 |
| 申请人地址 | 四川省德阳市绵竹经济开发区江苏工业园镇江路1号 |
专利法律状态
2022-05-03
授权
状态信息
授权
摘要
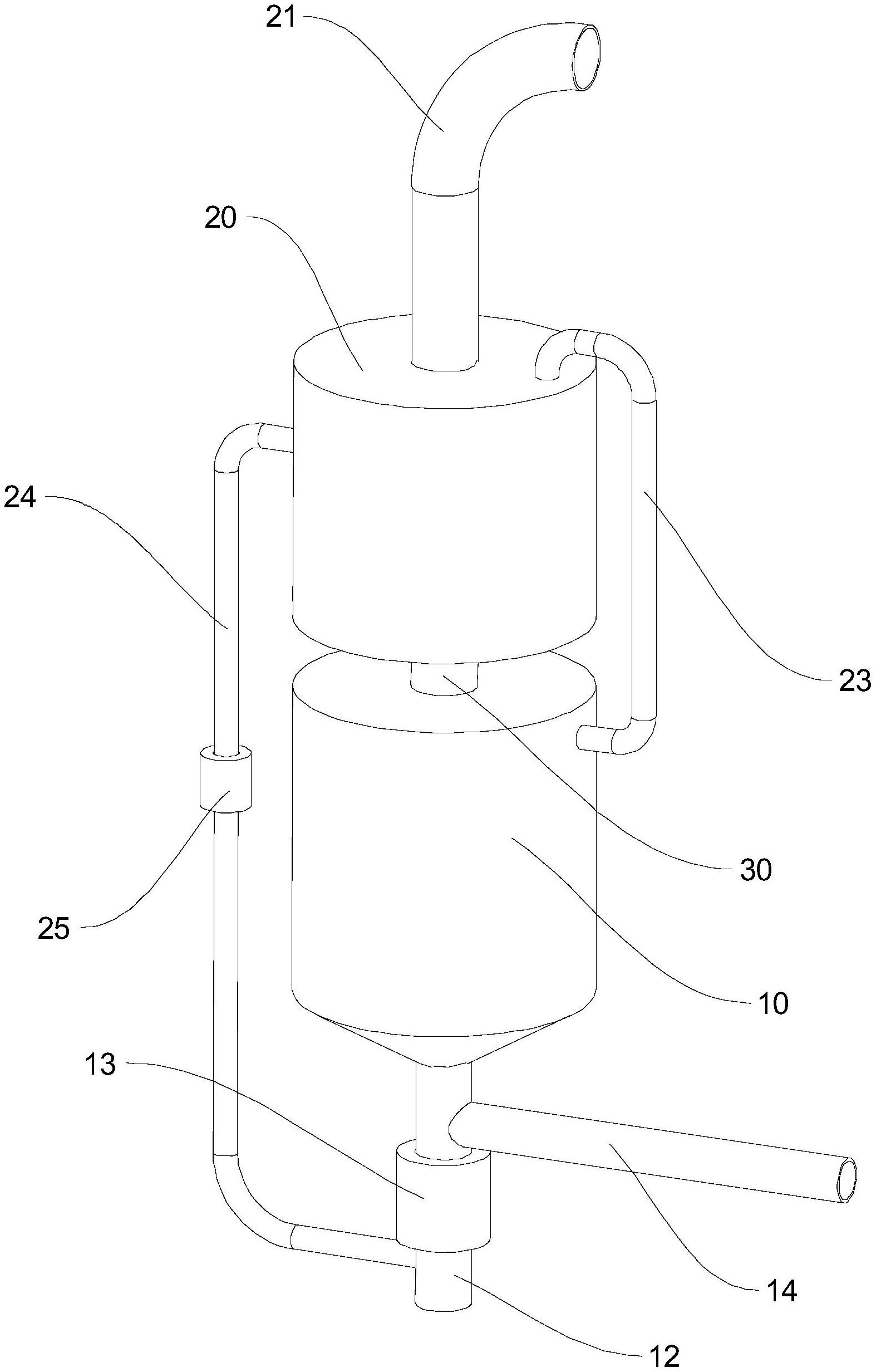
本实用新型提供了一种完整性测试仪防返水装置,包括第一储水箱,设于第一储水箱上端的第二储水箱,用以连接第一储水箱和第二储水箱的连接管,设于第一储水箱下端的排水管,设于排水管下端的第一阀门,与排水管侧壁导通连接的第一导管,与第二储水箱上端导通连接的第二导管;以及设于连接管内的阻水装置;阻水装置包括设于连接管内的阻水球,设于阻水球上方的挡块,以及设于阻水球下方的拦网;挡块沿竖直方向开设有通孔,阻水球用以遮挡通孔。本实用新型的完整性测试仪防返水装置,能够有效地防止水进入到测试仪内部。


