授权公布号:CN216964562U
一种反应釜安全生产装置
有效
申请
2021-12-03
申请公布
1970-01-01
授权
2022-07-15
预估到期
2031-12-03
| 申请号 | CN202123030634.6 |
| 申请日 | 2021-12-03 |
| 授权公布号 | CN216964562U |
| 授权公告日 | 2022-07-15 |
| 分类号 | B01J19/00 |
| 分类 | 一般的物理或化学的方法或装置; |
| 申请人名称 | 四川美大康华康药业有限公司 |
| 申请人地址 | 四川省德阳市绵竹经济开发区江苏工业园镇江路1号 |
专利法律状态
2022-07-15
授权
状态信息
授权
摘要
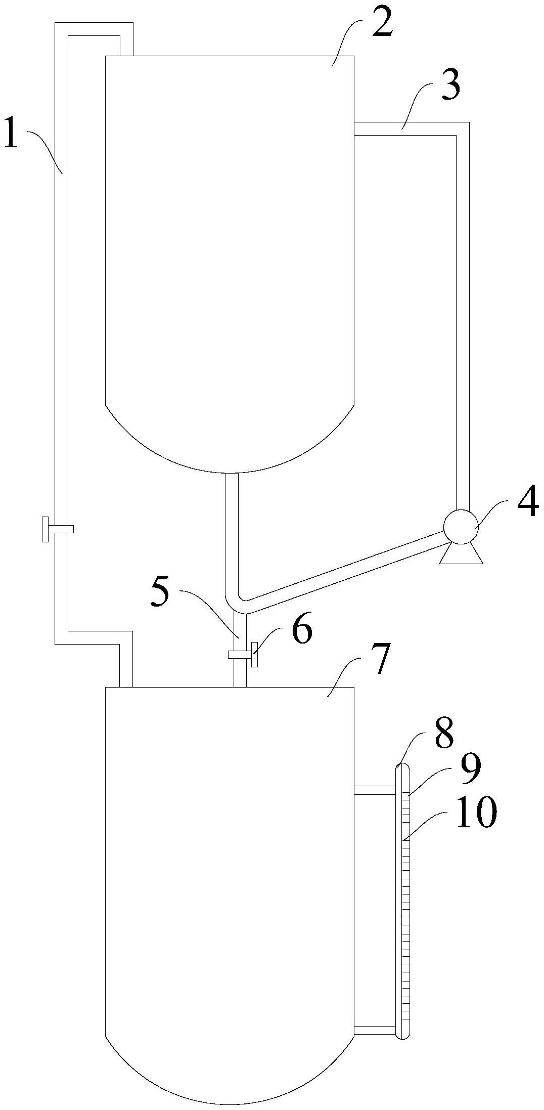
本实用新型提供了一种反应釜安全生产装置,包括反应釜本体和物料罐;所述反应釜本体和物料罐之间通过输送管连通,所述输送管为U型管,且所述输送管的两端均与所述物料罐连通;所述输送管的弯折处连通有输送支管,所述输送支管的出料端与所述反应釜本体连通;其可避免反应釜液体溢出,且可保持反应釜内的气体平衡,提高生产过程的安全性。


