授权公布号:CN216424878U
一种自动装盒机进瓶前倒瓶剔除装置
有效
申请
2021-10-28
申请公布
1970-01-01
授权
2022-05-03
预估到期
2031-10-28
| 申请号 | CN202122620336.6 |
| 申请日 | 2021-10-28 |
| 授权公布号 | CN216424878U |
| 授权公告日 | 2022-05-03 |
| 分类号 | B65B21/04;B65G47/256 |
| 分类 | 输送;包装;贮存;搬运薄的或细丝状材料; |
| 申请人名称 | 四川美大康华康药业有限公司 |
| 申请人地址 | 四川省德阳市绵竹经济开发区江苏工业园镇江路1号 |
专利法律状态
2022-05-03
授权
状态信息
授权
摘要
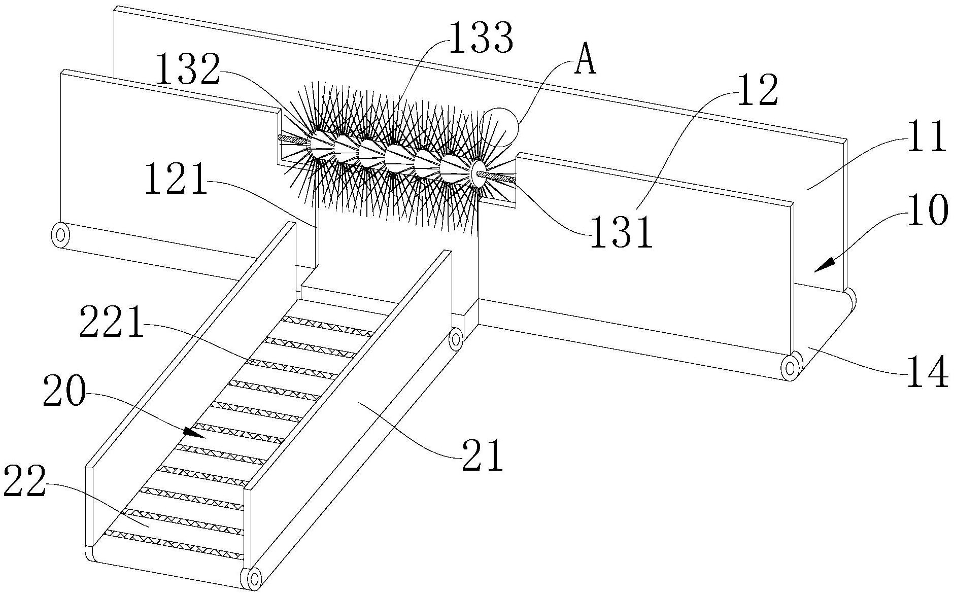
本实用新型涉及包装设备技术领域,提供了一种自动装盒机进瓶前倒瓶剔除装置,包括包括装瓶通道,所述装瓶通道的一侧配置有第一挡板、另一侧配置有第二挡板,所述第二挡板开设有可供倒瓶穿过的开口;所述开口沿平行于所述装瓶通道的方向配置有剔除辊,所述剔除辊在进瓶方向的视角下顺时针转动。本申请的倒瓶剔除装置通过配置剔除辊来剔除倒瓶,当倒瓶和立瓶同时向前传输时,由于倒瓶的侧壁与装瓶通道接触,受外力作用容易滚动,在剔除辊的带动下,向出口滚出至剔除通道,而立瓶不易受剔除辊的影响而发生位移,从而将倒瓶与立瓶分开运输;且结构简单,有效提高了倒瓶剔除的效率,通过替换不同参数的辊刷,可以用以剔除不同大小的倒瓶。


