授权公布号:CN116371234B
错位打散防结块混料装置及其在包子馅料制备中的应用
有效
申请
2023-05-31
申请公布
2023-07-04
授权
2023-08-04
预估到期
2043-05-31
| 申请号 | CN202310632145.2 |
| 申请日 | 2023-05-31 |
| 申请公布号 | CN116371234A |
| 申请公布日 | 2023-07-04 |
| 授权公布号 | CN116371234B |
| 授权公告日 | 2023-08-04 |
| 分类号 | B01F27/172;B01F27/192;B01F27/906;B01F35/12;A23P30/40;B01F101/06N |
| 分类 | 一般的物理或化学的方法或装置; |
| 申请人名称 | 宏辉果蔬股份有限公司 |
| 申请人地址 | 广东省汕头市龙湖区玉津中路13号 |
专利法律状态
2023-08-04
授权
状态信息
授权
2023-07-21
实质审查的生效
状态信息
实质审查的生效;IPC(主分类):B01F27/172;申请日:20230531
2023-07-04
公布
状态信息
公布
摘要
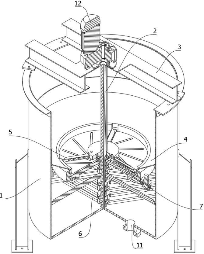
本发明涉及食品加工领域,具体是涉及错位打散防结块混料装置,设置在搅拌罐中,搅拌罐的底部开设有出料口,搅拌罐中设有搅拌轴,搅拌罐的顶部设有轴座,轴座上设有主电机,搅拌罐的内侧中部套设有导料斗,导料斗中设有第一混料机构,第一混料机构的下方还设有第二混料机构,第一混料机构和第二混料机构中设有离心盘,导料斗上设有用以驱动离心盘移动的直线驱动器,本发明通过第一混料机构和第二混料机构对包子馅料的二次混合,使得馅料不结块的同时,保证了馅料完全的混合在一起,实现了包子馅料的制备,提高了混料效果,以及提高了馅料的使用效果。本发明还涉及错位打散防结块混料装置在包子馅料制备中的应用。


