授权公布号:CN112168687B
一种医疗保健用艾灸支架
有效
申请
2020-11-05
申请公布
2021-01-05
授权
2023-05-05
预估到期
2040-11-05
| 申请号 | CN202011220614.2 |
| 申请日 | 2020-11-05 |
| 申请公布号 | CN112168687A |
| 申请公布日 | 2021-01-05 |
| 授权公布号 | CN112168687B |
| 授权公告日 | 2023-05-05 |
| 分类号 | A61H39/06 |
| 分类 | 医学或兽医学;卫生学; |
| 申请人名称 | 湖南九喜科技股份有限公司 |
| 申请人地址 | 湖南省岳阳市汨罗高新技术产业开发区 |
专利法律状态
2023-05-05
授权
状态信息
授权
2021-01-05
公布
状态信息
公布
摘要
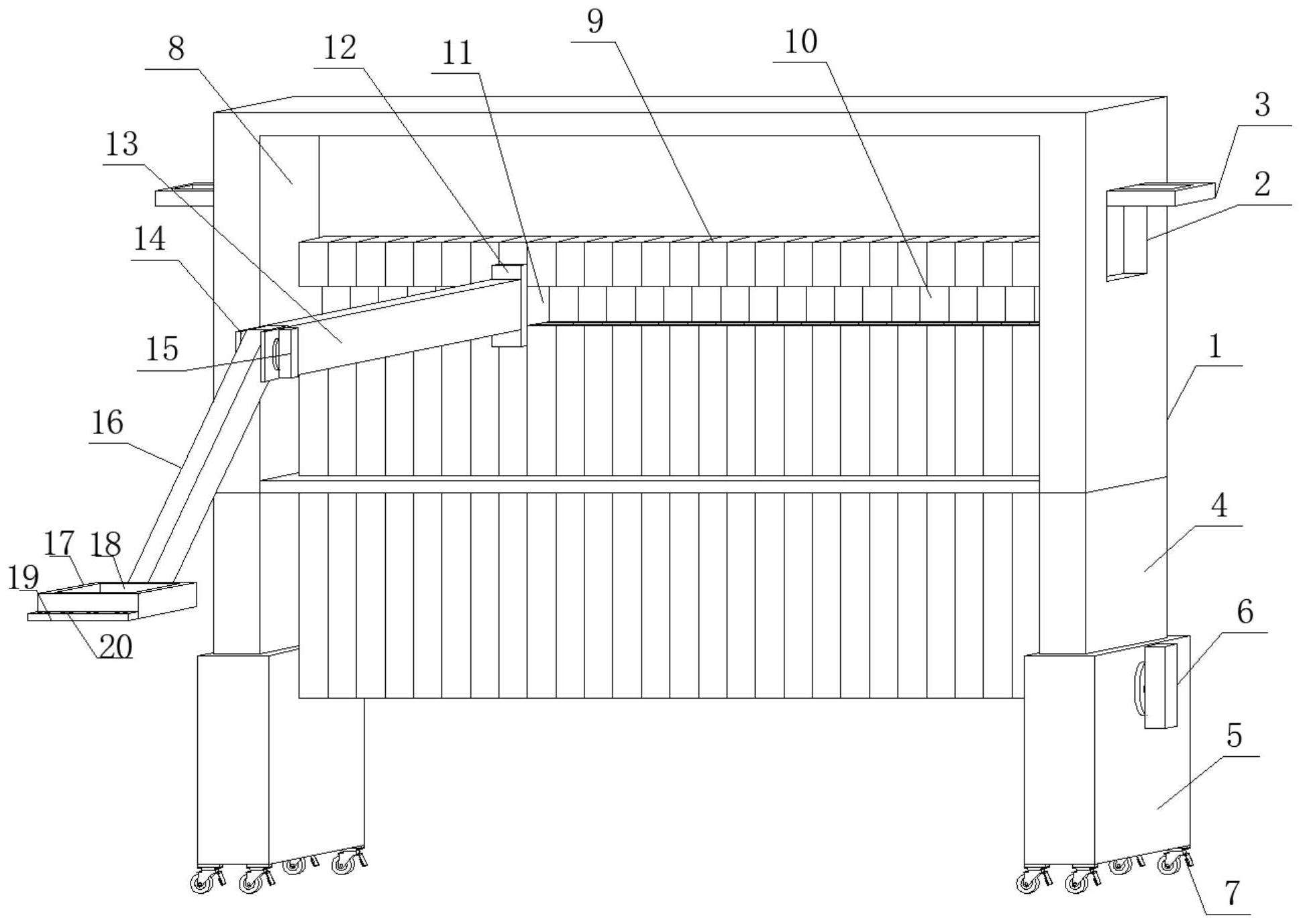
本发明公开了一种医疗保健用艾灸支架,涉及医疗保健领域,包括支撑主板,所述支撑主板的两侧边对称开设有收纳槽,所述收纳槽的内侧边卡接有把手杆,所述支撑主板的底面垂直向下插接有延伸立杆,所述延伸立杆的底端竖直向套接有底套杆,所述底套杆的侧边螺纹连接有紧固螺杆,所述底套杆的底端螺栓连接有移动轮,所述支撑主板的一侧边水平开设有活动槽,所述活动槽的内侧边竖直向插接有排条杆,所述排条杆的侧边水平开设有路径槽,所述路径槽的内侧边水平插接有插接块。本发明装置设计结构简单操作方便,在采用了可调节式路径使得可以更加符合多变性的治疗环境,同时多向的调节使得在进行使用时更加的合理高效。


