授权公布号:CN214469973U
一种利用锅炉高温尾气干燥磷酸一铵的干燥系统
有效
申请
2021-03-24
申请公布
1970-01-01
授权
2021-10-22
预估到期
2031-03-24
| 申请号 | CN202120595263.7 |
| 申请日 | 2021-03-24 |
| 授权公布号 | CN214469973U |
| 授权公告日 | 2021-10-22 |
| 分类号 | F26B21/14;F26B3/092;F23J15/02;C01B25/28 |
| 分类 | 干燥; |
| 申请人名称 | 施可丰化工股份有限公司 |
| 申请人地址 | 山东省临沂市临沂经济开发区北京路南首 |
专利法律状态
2021-10-22
授权
状态信息
授权
摘要
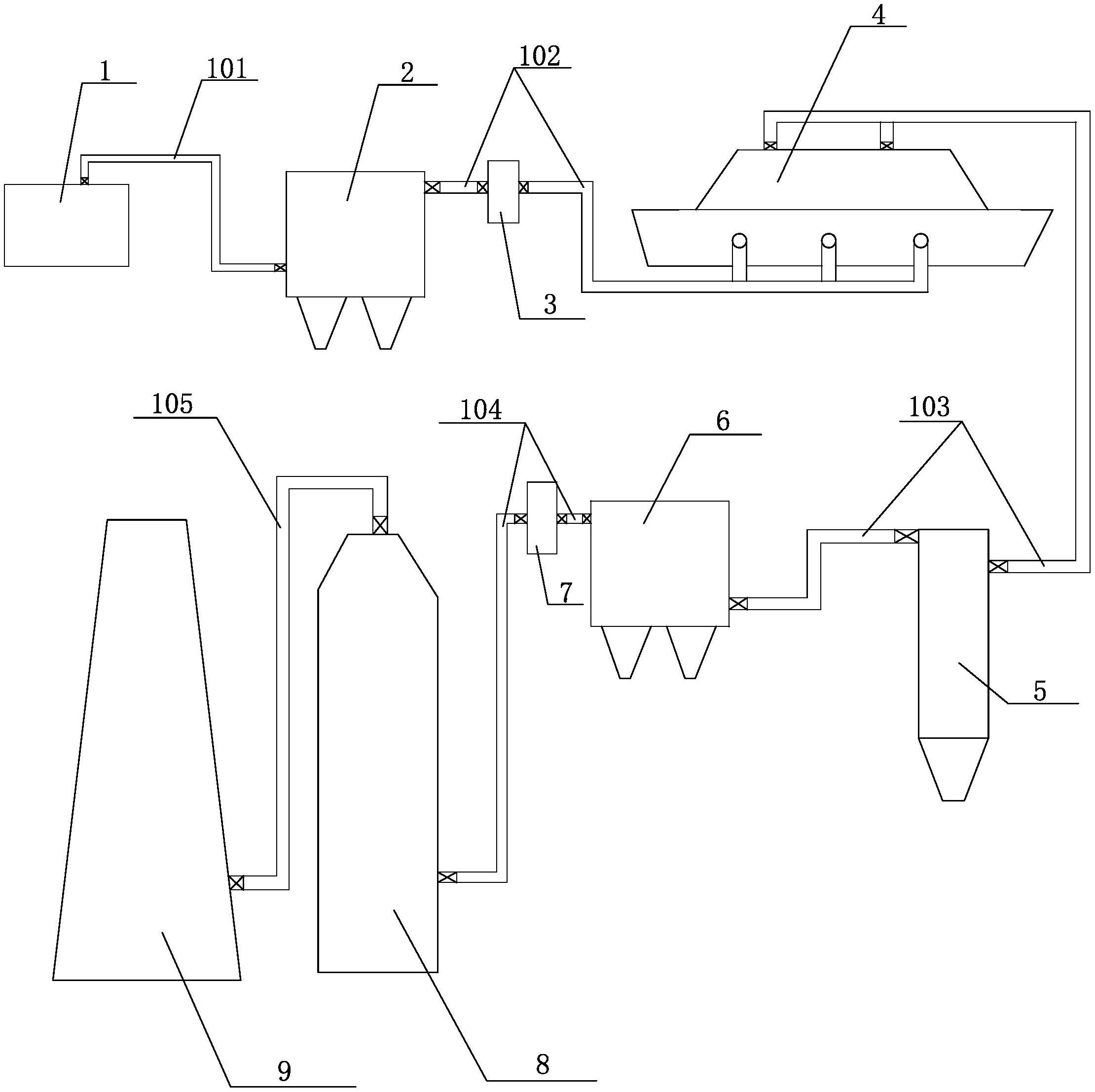
本实用新型给出了一种利用锅炉高温尾气干燥磷酸一铵的干燥系统,包括蒸汽锅炉、第一除尘器、第一引风机、振动流化床干燥机、第二除尘器、第二引风机、尾气脱硫塔和烟囱,蒸汽锅炉、第一除尘器、第一引风机、振动流化床干燥机、第二除尘器、第二引风机、尾气脱硫塔和烟囱依次通过通风管道相串接在一起。该干燥系统利用锅炉的高温尾气来代替高压蒸汽作为磷酸一铵的干燥热源,不仅实现了高温尾气的余热再利用,节约了能源,同时,也避免了蒸汽的大量应用,继而保证了肥料其它生产环节中蒸汽的充足供,利于肥料的正常生产。


