授权公布号:CN213300619U
一种复合肥颗粒冷却装置
有效
申请
2020-09-28
申请公布
1970-01-01
授权
2021-05-28
预估到期
2030-09-28
| 申请号 | CN202022180334.5 |
| 申请日 | 2020-09-28 |
| 授权公布号 | CN213300619U |
| 授权公告日 | 2021-05-28 |
| 分类号 | F25D25/00;F25D31/00;F25D17/08 |
| 分类 | 制冷或冷却;加热和制冷的联合系统;热泵系统;冰的制造或储存;气体的液化或固化; |
| 申请人名称 | 施可丰化工股份有限公司 |
| 申请人地址 | 山东省临沂市临沂经济开发区北京路南首 |
专利法律状态
2021-05-28
授权
状态信息
授权
摘要
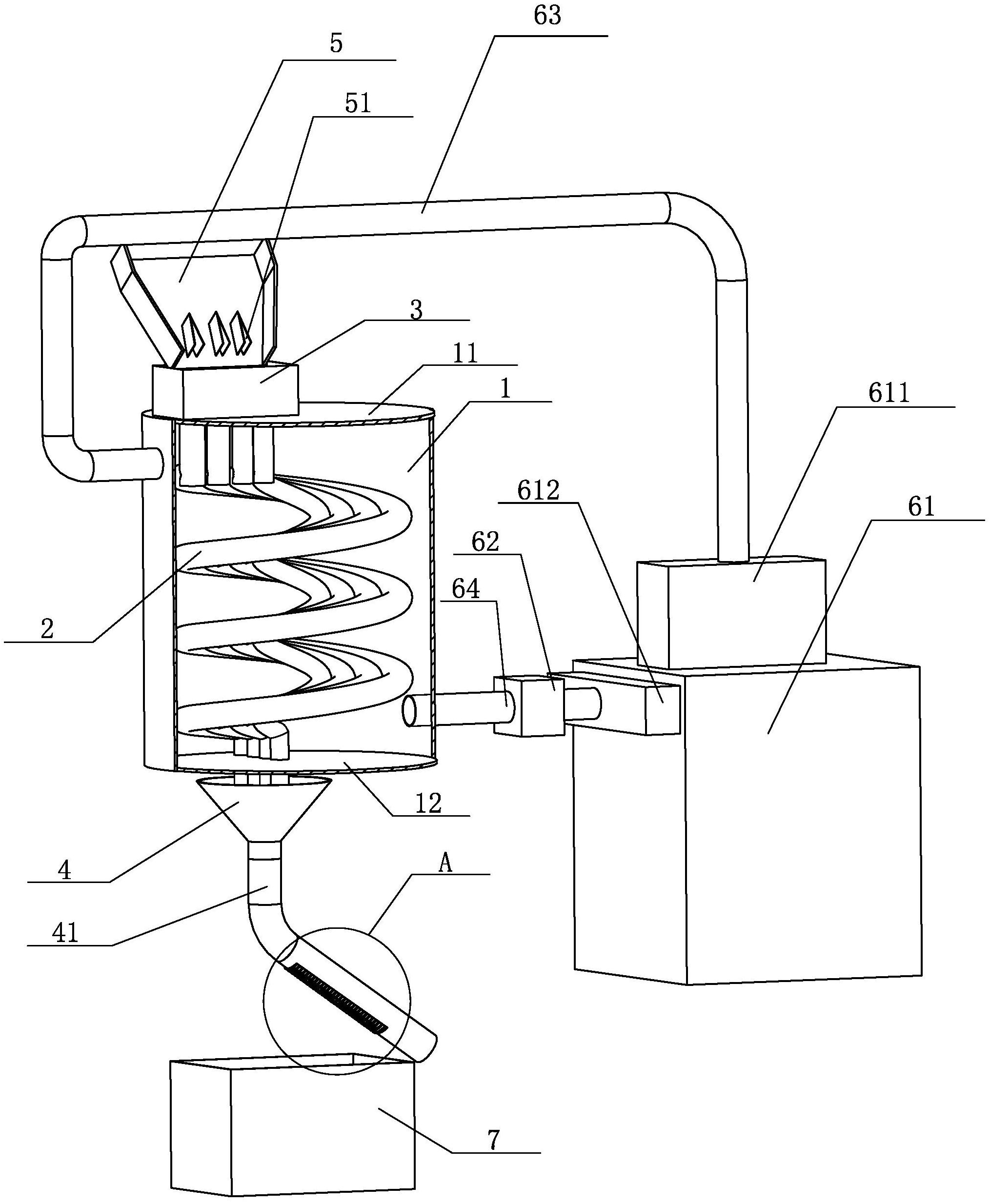
本实用新型给出了一种复合肥颗粒冷却装置,包括冷却桶、冷气循环装置,在冷却桶内设置有四个螺旋冷却管,在冷却桶的上顶板上设置一上料槽,四个螺旋冷却管的上部均位于上料槽内,在冷却桶的下方设置一下料槽,四个螺旋冷却管的下部流出的物料均可流入到下料槽内,在下料槽的下部设置一出料管,在上料槽的上方设置一导料溜槽;冷气循环装置包括空气制冷机、鼓风机,鼓风机可将空气制冷机制造的冷空气送入到冷却桶内。利用该装置进行肥料颗粒冷却时,通过螺旋冷却管的隔离作用,实现了颗粒与冷空气的隔离,从而可防止颗粒内粉末和细小颗粒被流动的冷空气带到环境中,继而利于提高冷却环境质量。


