授权公布号:CN109176619B
一种雨衣生产用布料裁断装置
有效
申请
2018-08-03
申请公布
2019-01-11
授权
2020-12-22
预估到期
2038-08-03
| 申请号 | CN201810876254.8 |
| 申请日 | 2018-08-03 |
| 申请公布号 | CN109176619A |
| 申请公布日 | 2019-01-11 |
| 授权公布号 | CN109176619B |
| 授权公告日 | 2020-12-22 |
| 分类号 | B26D1/06 |
| 分类 | 手动切割工具;切割;切断; |
| 申请人名称 | 安徽甬安雨具有限公司 |
| 申请人地址 | 安徽省安庆市潜山县梅城镇潘铺生态工业园区甬安大道1号 |
专利法律状态
2020-12-22
授权
状态信息
授权
2019-02-12
实质审查的生效
状态信息
实质审查的生效;IPC(主分类):B26D1/06;专利申请号:2018108762548;申请日:20180803
2019-01-11
发明专利申请公布
状态信息
公布
摘要
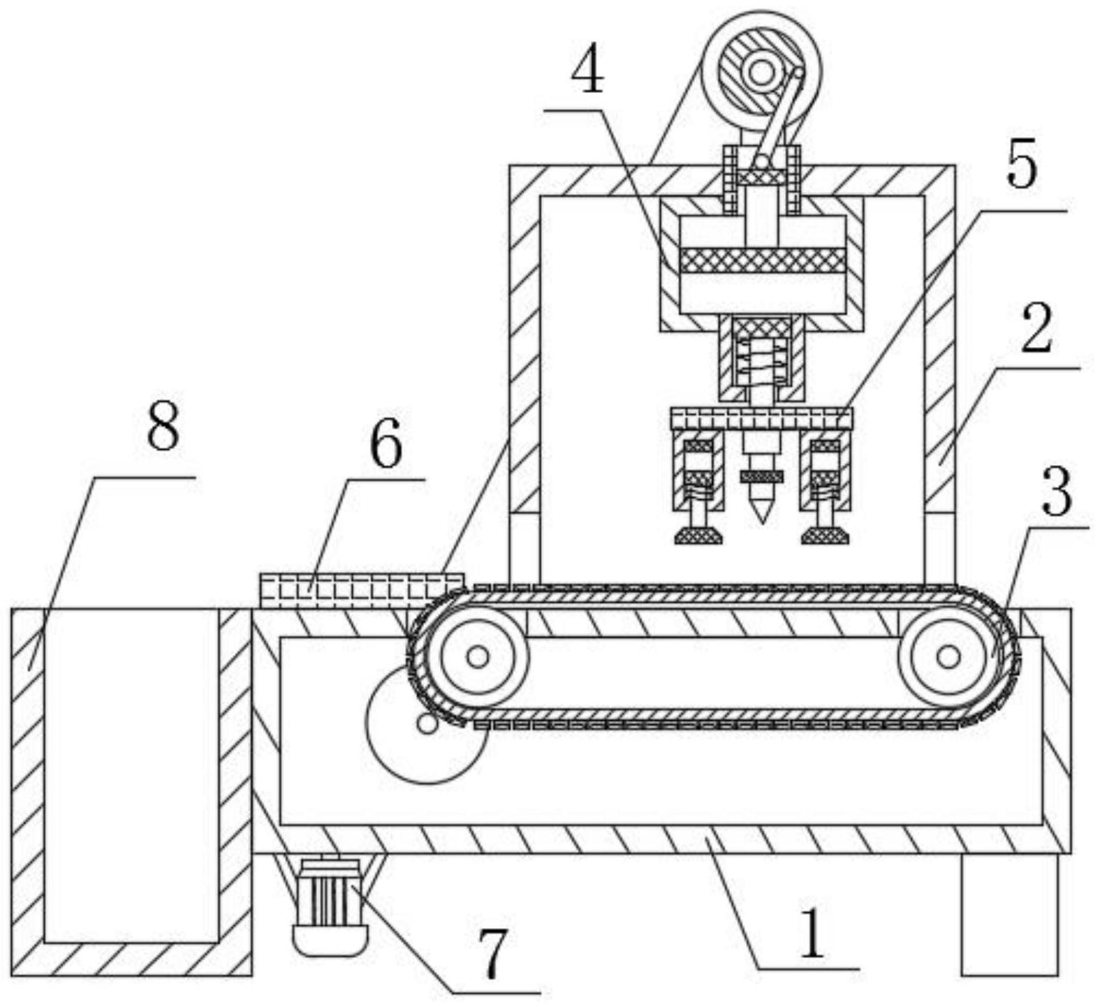
本发明提供一种雨衣生产用布料裁断装置,包括输送箱和输送箱上端贯通连接的裁断室,所述输送箱的内腔中设有输送装置,所述裁断室的内顶壁固定连接有下行装置,且下行装置的下端固定连接有裁切装置,所述裁断室相对的侧壁上对称开设有进料口和出料口,所述输送箱上端靠近出料口的一侧固定连接有前挡条,所述输送箱的下端通过支架固定连接有伺服电机。本发明克服了现有技术的不足,设计合理,结构紧凑,采用先固定再裁切的方式,有效的裁断雨衣布料,同时,裁剪装置与传输装置有效的结合起来,减轻了加工人员负担,大大提高了布料的裁断效率。


