授权公布号:CN111409237B
一种在狭小空间内实现抽芯的结构
有效
申请
2020-05-29
申请公布
2020-07-14
授权
2020-11-17
预估到期
2040-05-29
| 申请号 | CN202010471244.3 |
| 申请日 | 2020-05-29 |
| 申请公布号 | CN111409237A |
| 申请公布日 | 2020-07-14 |
| 授权公布号 | CN111409237B |
| 授权公告日 | 2020-11-17 |
| 分类号 | B29C45/33;B29C45/44 |
| 分类 | 塑料的加工;一般处于塑性状态物质的加工; |
| 申请人名称 | 常州华威模具有限公司 |
| 申请人地址 | 江苏省常州市新北区秦岭路155号 |
专利法律状态
2020-11-17
授权
状态信息
授权
2020-08-07
实质审查的生效
状态信息
实质审查的生效
2020-07-14
公布
状态信息
公布
摘要
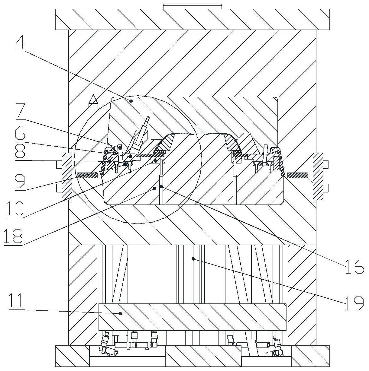
本发明为一种在狭小空间内实现抽芯的结构,包括凹模和凸模,所述凸模上滑动设有滑块,所述滑块上设有导向槽,所述凹模上固定有与所述导向槽配合的斜导柱,且所述斜导柱用于驱动所述滑块运动,所述滑块运动方向与顶出机构的顶出方向垂直,所述滑块包括主体部,所述主体部上间隔设有若干凸起,若干所述凸起之间开设有让位槽,所述让位槽的宽度不小于所述凸起的宽度。本发明结构简单,采用滑块的结构,给具有倒钩的筋让位,然后再对产品进行顶出,有效地避免了长距离抽芯导致滑块断裂的现象,设计巧妙,使用便捷。


