授权公布号:CN212498783U
一种切断浇口的模具
有效
申请
2020-05-29
申请公布
1970-01-01
授权
2021-02-09
预估到期
2030-05-29
| 申请号 | CN202020938503.4 |
| 申请日 | 2020-05-29 |
| 授权公布号 | CN212498783U |
| 授权公告日 | 2021-02-09 |
| 分类号 | B29C45/33; |
| 分类 | 塑料的加工;一般处于塑性状态物质的加工; |
| 申请人名称 | 常州华威模具有限公司 |
| 申请人地址 | 江苏省常州市新北区秦岭路155号 |
专利法律状态
2021-02-09
授权
状态信息
授权
摘要
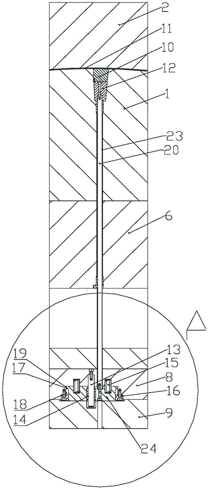
本实用新型为一种切断浇口的模具,包括凸模和凹模,凸模与凹模之间的型腔,型腔连通有流道,型腔下方设有用于对型腔内产品抽芯和顶出的顶出部件一,凸模下方设有底板,底板上设有下推板,顶出部件一设置在下推板上,底板和下推板之间形成滑动腔,滑动腔内滑动设有滑动块,滑动块上设有弹性部件,弹性部件的另一端抵住下推板,滑动块两侧延伸有挡块,下推板上固定有与挡块17配合的限位块,挡块与限位块之间设有间隙,滑动块上设有用于对流道抽芯顶出的顶出部件二,流道位于顶出部件二上;还包括用于驱动下推板上下运动的驱动部件。本实用新型结构简单,实现了多个浇口同时切断的功能,节省了修剪流道的时间,提高了效率,节省了成本。


