授权公布号:CN218111503U
吹气机构、保压装置及模具
有效
申请
2021-07-15
申请公布
1970-01-01
授权
2022-12-23
预估到期
2031-07-15
| 申请号 | CN202121618493.7 |
| 申请日 | 2021-07-15 |
| 授权公布号 | CN218111503U |
| 授权公告日 | 2022-12-23 |
| 分类号 | B29C45/17;B29C45/26;B29C45/14;B29C45/77 |
| 分类 | 塑料的加工;一般处于塑性状态物质的加工; |
| 申请人名称 | 深圳市银宝山新科技股份有限公司 |
| 申请人地址 | 广东省深圳市宝安区石岩街道罗租社区建兴路5号 |
专利法律状态
2022-12-23
授权
状态信息
授权
摘要
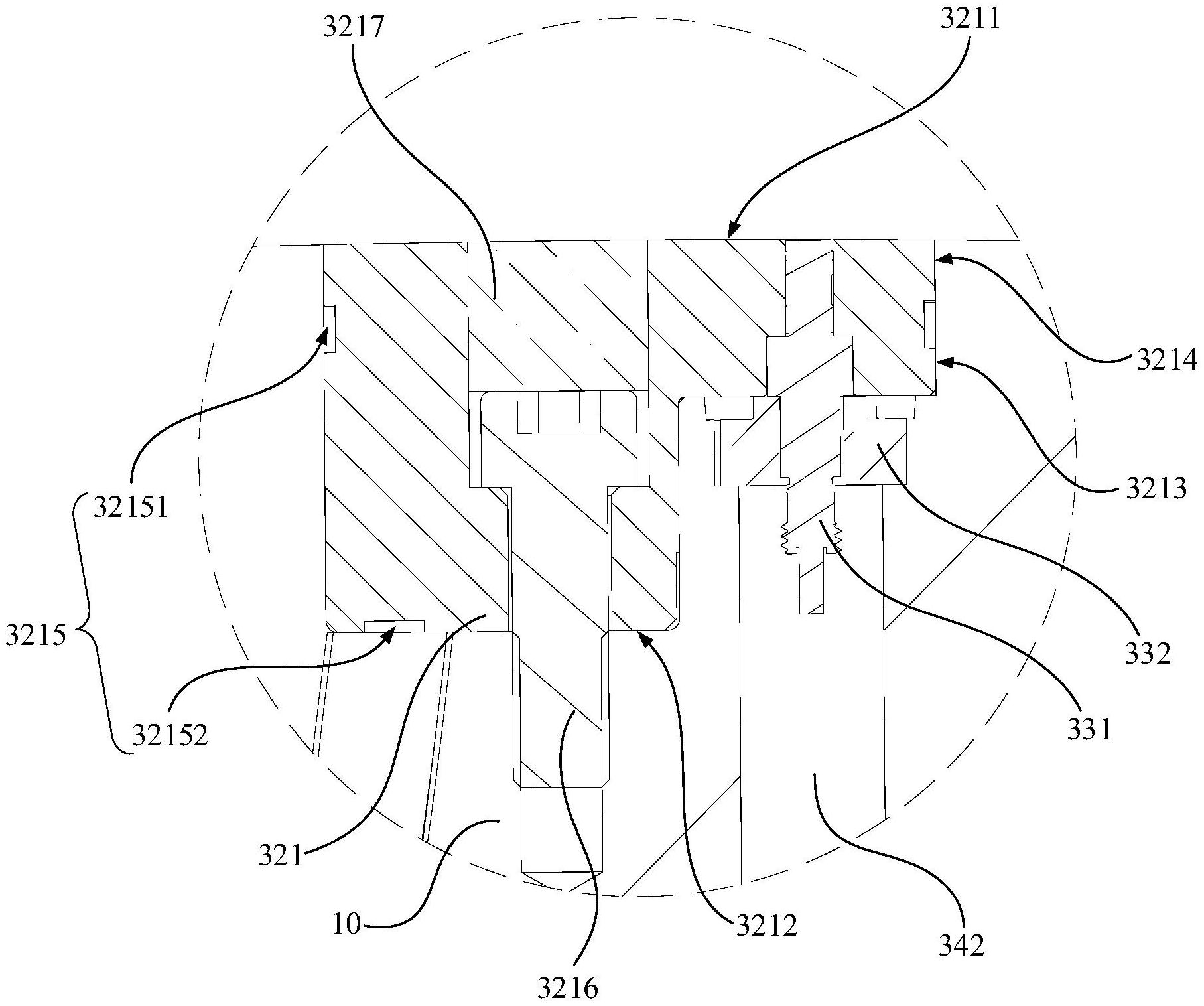
本实用新型实施例公开了一种吹气机构、保压装置及模具,涉及注塑成型技术领域。该吹气机构包括吹气组件和第一检测组件。吹气组件包括与型芯之间形成第一间隙的第一镶件,该第一镶件上设有自其第一底面向第一顶面延伸并与第一间隙连通的第一进气槽。如此通过第一进气槽缩小了第一镶件与型芯之间的进气空间,进而在保压时减少了用气量,降低了生产成本。同时,第一进气槽的设置还能够减少第一底面与型芯之间的进气空间,进而在保压过程中减少了气体对第一镶件的驱动力,避免第一镶件相对型芯移动改变注塑件的外貌。


