授权公布号:CN209099579U
木墙与基础的连接结构及木屋结构
有效
申请
2018-10-22
申请公布
1970-01-01
授权
2019-07-12
预估到期
2028-10-22
| 申请号 | CN201821713753.7 |
| 申请日 | 2018-10-22 |
| 授权公布号 | CN209099579U |
| 授权公告日 | 2019-07-12 |
| 分类号 | E04B2/74;E04B1/38 |
| 分类 | 建筑物; |
| 申请人名称 | 湖北天欣木结构房制造有限公司 |
| 申请人地址 | 湖北省孝感市汉川经济开发区新河工业园路19号康欣工业园 |
专利法律状态
2019-07-12
授权
状态信息
授权
摘要
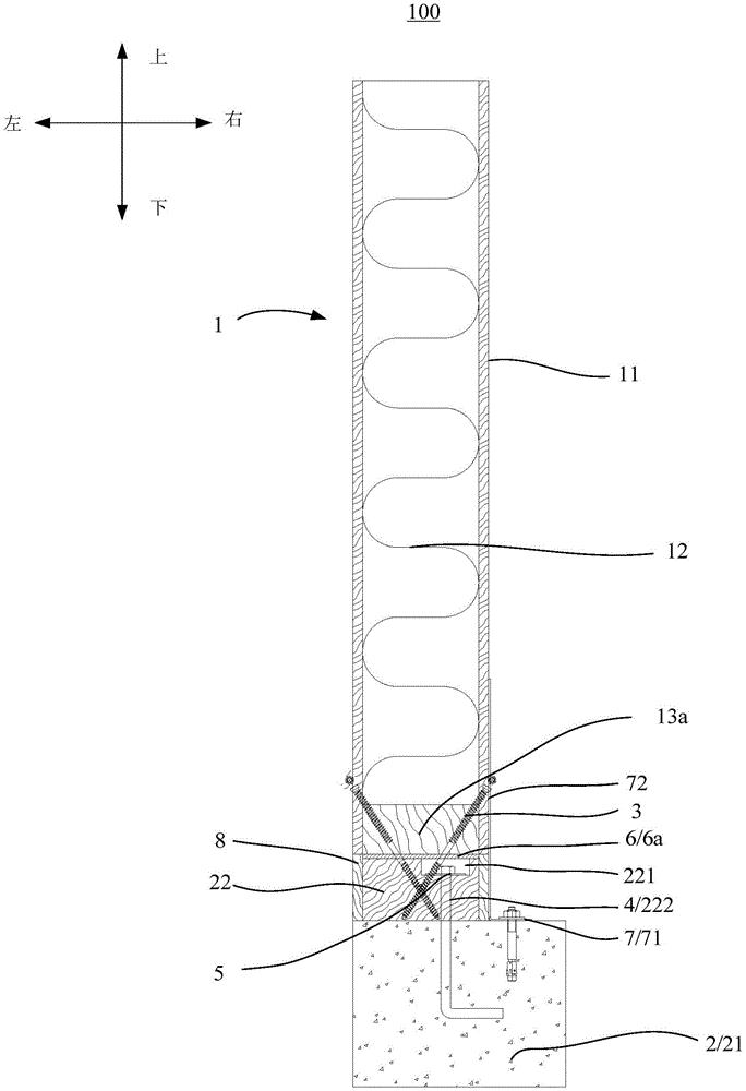
本实用新型公开一种木墙与基础的连接结构及木屋结构,其中,所述木墙与基础的连接结构包括木墙、基础结构及多个螺纹连接件,其中,所述木墙呈上下且前后向延伸设置,所述基础结构包括水平向延伸设置的基础本体及设于所述基础本体上端面上的连接垫木,所述连接垫木呈前后向延伸设置,所述连接垫木的上端面设有所述木墙,多个所述螺纹连接件设于所述木墙与所述连接垫木上,用以将所述木墙固定安装于所述基础结构上。所述基础结构的上端面设有连接垫木,在将所述木墙与所述连接垫木对位完成后,通过多个所述螺纹连接件将所述木墙固定安装于所述基础结构上,木墙的安装就位简单、便捷,提高了生产效率。


