授权公布号:CN209369096U
预制集成木墙结构及木屋结构
有效
申请
2018-10-22
申请公布
1970-01-01
授权
2019-09-10
预估到期
2028-10-22
| 申请号 | CN201821713214.3 |
| 申请日 | 2018-10-22 |
| 授权公布号 | CN209369096U |
| 授权公告日 | 2019-09-10 |
| 分类号 | E04B2/00;E04C2/30;E04G21/16 |
| 分类 | 建筑物; |
| 申请人名称 | 湖北天欣木结构房制造有限公司 |
| 申请人地址 | 湖北省孝感市汉川经济开发区新河工业园路19号康欣工业园 |
专利法律状态
2019-09-10
授权
状态信息
授权
摘要
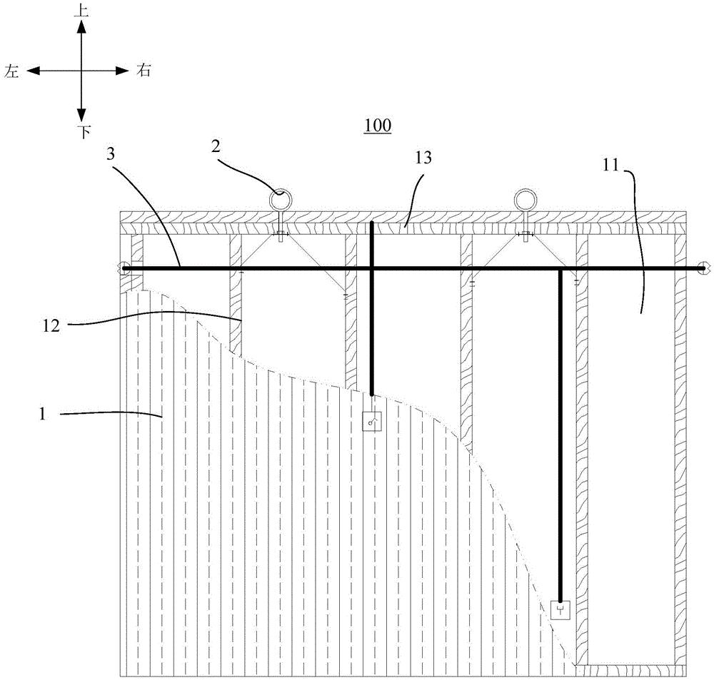
本实用新型公开一种预制集成木墙结构及木屋结构,其中,所述预制集成木墙结构包括墙体、吊装结构及电气结构,所述吊装结构设于所述墙体,用以起吊所述墙体,所述电气结构设于所述墙体,所述电气结构包括穿设于所述墙体内部的电线结构、以及设于所述电线结构端部的电器件。在预制所述墙体的同时,将所述吊装结构及所述电气结构集成于所述墙体内,在所述墙体进行转序、运输、现场吊装时,只需要吊装连接所述吊装结构,即可实现吊装所述预制木墙,现场作业时,不需要进行复杂的电气预埋工作,只需要将对应的节点进行连接,将大多电气工作在工厂预制时完成,可以实现现场的快速安装,提高现场木屋结构的生产、安装效率。


