授权公布号:CN103549627B
气动式桂圆去核机
有效
申请
2013-10-24
申请公布
2014-02-05
授权
2016-05-25
预估到期
2033-10-24
| 申请号 | CN201310505502.5 |
| 申请日 | 2013-10-24 |
| 申请公布号 | CN103549627A |
| 申请公布日 | 2014-02-05 |
| 授权公布号 | CN103549627B |
| 授权公告日 | 2016-05-25 |
| 分类号 | A23N4/06 |
| 分类 | 其他类不包含的食品或食料;及其处理; |
| 申请人名称 | 高州市丰盛食品有限公司 |
| 申请人地址 | 广东省茂名市高州市根子柏桥广场 |
专利法律状态
2023-09-01
专利权质押合同登记的生效、变更及注销
状态信息
专利权质押合同登记的生效;IPC(主分类):A23N4/06;专利号:ZL2013105055025;登记号:Y2023980052654;登记生效日:20230817;出质人:高州市丰盛食品有限公司;质权人:中国银行股份有限公司茂名分行;发明名称:气动式桂圆去核机;申请日:20131024;授权公告日:20160525
2016-05-25
授权
状态信息
授权
2014-03-12
实质审查的生效
状态信息
实质审查的生效;IPC(主分类):A23N4/06;申请日:20131024
2014-02-05
公布
状态信息
公布
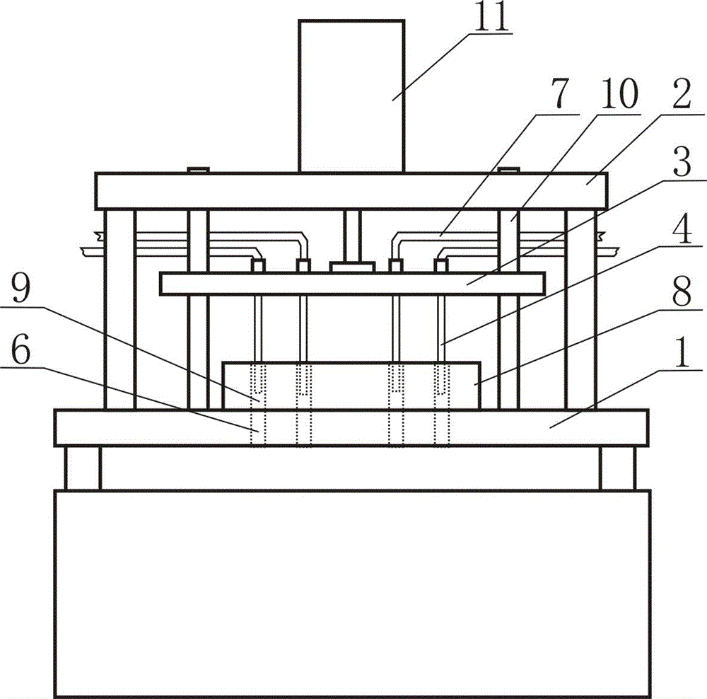
摘要
本发明公开了一种气动式桂圆去核机,它主要由电机、丝杠、螺套、底座、支架、活动板和顶针构成,所述底座上设有桂圆通道,所述桂圆通道的底面上设有桂圆核通孔,所述顶针垂直固定在活动板上且与桂圆核通孔相对应;所述顶针为中空的管状结构,顶针的上端部与高压气输送管连接;所述支架设在底座上,电机设在支架上,丝杠的下端垂直安装在底座上,上端与电机联接,所述螺套固定在活动板上且套装在丝杠上;所述电机带动丝杠转动,丝杠通过螺套带动活动板上下移动,所述活动板带动顶针上下移动。由于采用上述的结构形式,该气动式桂圆去核机具有结构简单、使用方便、安全可靠的特点。


