授权公布号:CN213591039U
一种龙眼筛选装置
有效
申请
2020-06-30
申请公布
1970-01-01
授权
2021-07-02
预估到期
2030-06-30
| 申请号 | CN202021241800.X |
| 申请日 | 2020-06-30 |
| 授权公布号 | CN213591039U |
| 授权公告日 | 2021-07-02 |
| 分类号 | B07B1/28;B07B1/42;B07B1/46;B08B15/00;B65G33/14;A23N15/00 |
| 分类 | 将固体从固体中分离;分选; |
| 申请人名称 | 高州市丰盛食品有限公司 |
| 申请人地址 | 广东省茂名市高州市文笔路181号丰盛食品 |
专利法律状态
2021-07-02
授权
状态信息
授权
摘要
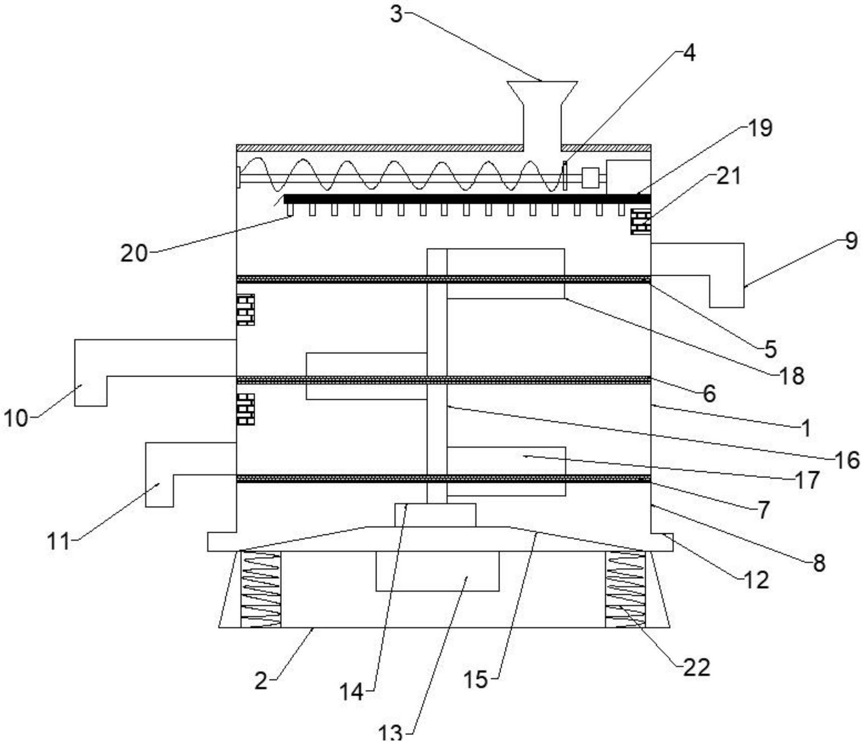
本实用新型公开了一种龙眼筛选装置,包括罐体和底座,罐体位于底座的上方,进料口的下方设有螺旋进料机构,螺旋进料机构的下方从上至下依次设有第一筛网、第二筛网、第三筛网和废渣箱,底座的内部上方设有振动电机,废渣箱的内部设有驱动电机,驱动电机连接贯穿第一筛网、第二筛网和第三筛网的转动轴,第一筛网、第二筛网和第三筛网的上方和下方转动轴均设有拨板和顶出板,螺旋进料机构的表面设有清理板,清理板下表面设有与第一筛网、第二筛网和第三筛网的筛孔对应的伸缩杆,设置了螺旋进料机构,有效对龙眼进行均匀的输送,顶出板有效地将直径比筛孔大的龙眼顶出筛孔,通过设置伸缩杆,可以顶出堵塞筛孔的龙眼,提高工作的效率。


