授权公布号:CN217330379U
一种带有增强轴的把手系统及采用它的车载冰箱
有效
申请
2022-05-11
申请公布
1970-01-01
授权
2022-08-30
预估到期
2032-05-11
| 申请号 | CN202221114117.9 |
| 申请日 | 2022-05-11 |
| 授权公布号 | CN217330379U |
| 授权公告日 | 2022-08-30 |
| 分类号 | F25D23/00;F25D23/02;F25D23/06;F25D11/00;E05D5/10;E05D5/14 |
| 分类 | 制冷或冷却;加热和制冷的联合系统;热泵系统;冰的制造或储存;气体的液化或固化; |
| 申请人名称 | 宁波婷微电子科技有限公司 |
| 申请人地址 | 浙江省宁波市慈溪市龙山镇(农垦场) |
专利法律状态
2022-08-30
授权
状态信息
授权
摘要
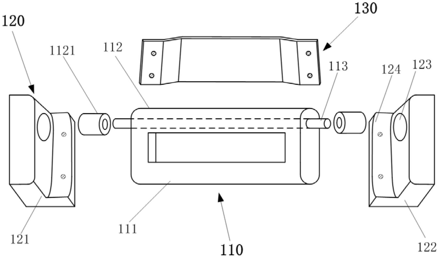
本实用新型提供一种带有增强轴的把手系统,包括把手握持部,把手基座,和增强衬板,所述把手握持部包括平行设置的第一把手握持部和第二把手握持部,所述第二把手握持部内设置有贯穿的把手增强轴;所述把手基座包括左把手基座和右把手基座,所述左把手基座和右把手基座在所述第二把手握持部的延伸方向上设置有把手凹槽用于容纳第二把手握持部的端部延伸部从而形成所述把手握持部与所述把手基座的连接;所述把手增强轴延伸到所述把手凹槽内;所述增强衬板与所述把手基座固定连接。本实用新型通过贯穿的把手增强轴平衡第一把手基座和第二把手基座的受力,并将受力传导至增强衬板,增强把手稳定性和强度。


