授权公布号:CN218640771U
一种手机固定装置及具有该手机固定装置的车身
有效
申请
2022-11-14
申请公布
1970-01-01
授权
2023-03-17
预估到期
2032-11-14
| 申请号 | CN202223035569.0 |
| 申请日 | 2022-11-14 |
| 授权公布号 | CN218640771U |
| 授权公告日 | 2023-03-17 |
| 分类号 | B60R11/02;B62J11/00;H04M1/04 |
| 分类 | 一般车辆; |
| 申请人名称 | 东方丝路(深圳)科技有限公司 |
| 申请人地址 | 广东省深圳市宝安区福海街道新和社区福海信息港A7栋439 |
专利法律状态
2023-03-17
授权
状态信息
授权
摘要
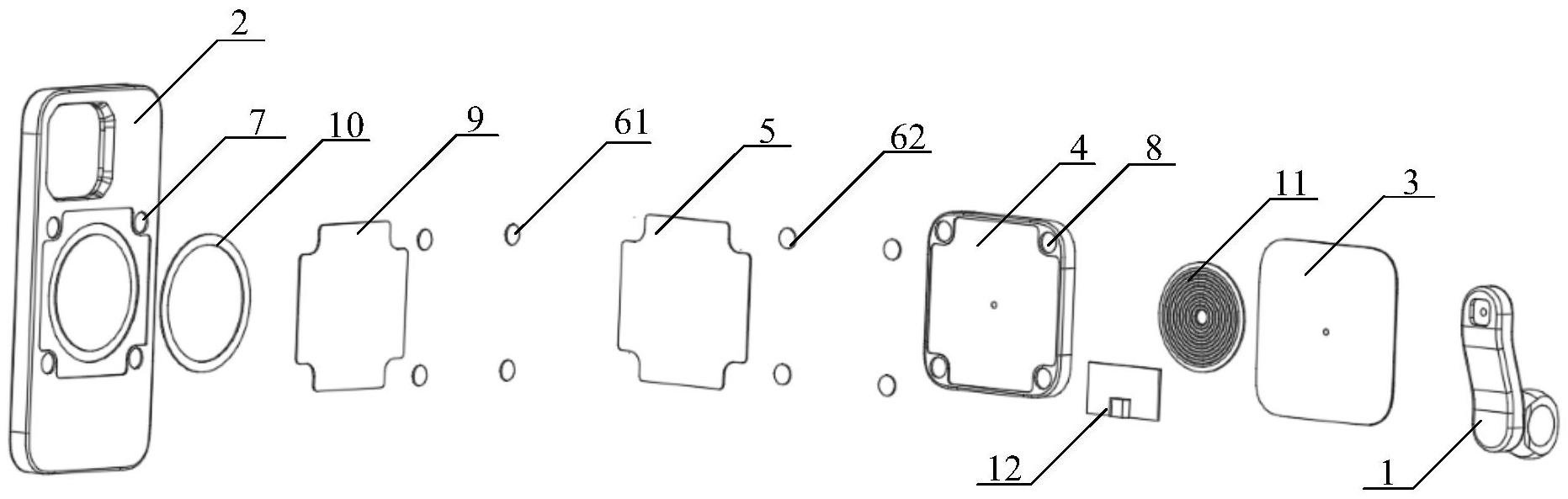
本实用新型公开了一种手机固定装置及具有该手机固定装置的车身,手机固定装置包括连接于车身的连接部的连通支架、连接于连通支架的底座以及手机壳,手机壳的背面设有第一磁铁,底座上设有第二磁铁。本申请提供的手机固定装置通过在手机壳的背面以及底座上设置磁铁,通过磁铁的吸附作用能够使得手机壳与底座之间能够实现快速安装和拆卸,在周向上具有至少两个安装角度,可将手机壳轻松拿下后切换横屏或竖屏的模式再放回,使用起来更加方便。


