授权公布号:CN214665710U
一种化纤织物晾晒装置
有效
申请
2021-04-23
申请公布
1970-01-01
授权
2021-11-09
预估到期
2031-04-23
| 申请号 | CN202120842409.3 |
| 申请日 | 2021-04-23 |
| 授权公布号 | CN214665710U |
| 授权公告日 | 2021-11-09 |
| 分类号 | F26B9/10;F26B25/06;F26B25/18 |
| 分类 | 干燥; |
| 申请人名称 | 上海丝绸集团品牌发展有限公司 |
| 申请人地址 | 上海市虹口区四川北路1666号17楼 |
专利法律状态
2021-11-09
授权
状态信息
授权
摘要
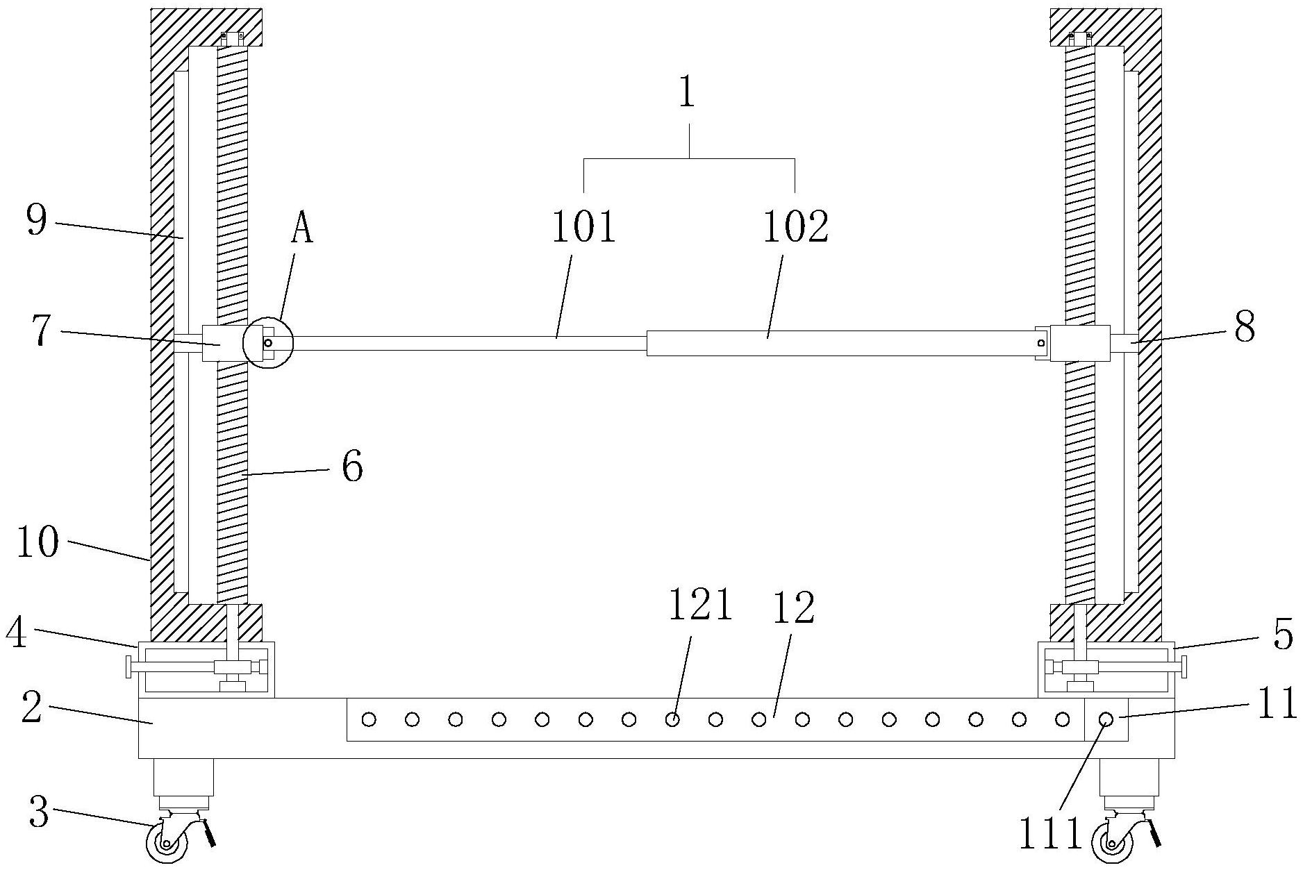
本实用新型涉及晾晒装置技术领域,具体公开了一种化纤织物晾晒装置,包括伸缩晾晒管,伸缩晾晒管包括第一连接管和第二连接管,第二连接管内设置有与第一连接管相连接凹槽,伸缩晾晒管的下方设置有底座,底座的顶部两端分别设置有第一支撑箱和第二支撑箱,第一支撑箱和第二支撑箱的顶部均设置有连接架,第二支撑箱的下方连接有第二滑块,底座上水平设置有第二滑槽,第二滑槽与第二滑块滑动连接;连接架上竖向设置有丝杆,每根丝杆上连接有螺母,且伸缩晾晒管的两端均与螺母的一侧相连接,通过第一支撑箱和第二支撑箱间距的调整,第一连接管和第二连接管进行滑动连接,调整伸缩晾晒管的长度,给化纤织物的晾晒工作带来便利。


