授权公布号:CN117074663B
一种胶体金免疫层析分析仪的检测方法
有效
申请
2023-10-12
申请公布
2023-11-17
授权
2024-02-06
预估到期
2043-10-12
| 申请号 | CN202311316396.6 |
| 申请日 | 2023-10-12 |
| 申请公布号 | CN117074663A |
| 申请公布日 | 2023-11-17 |
| 授权公布号 | CN117074663B |
| 授权公告日 | 2024-02-06 |
| 分类号 | G01N33/543;G01N33/58;G01N21/01 |
| 分类 | 测量;测试; |
| 申请人名称 | 乐福思健康产业股份公司 |
| 申请人地址 | 湖北省武汉市东湖新技术开发区九峰街道九峰一路1号光谷生物创新园二期A1栋 |
专利法律状态
2024-02-06
授权
状态信息
授权
2023-12-05
实质审查的生效
状态信息
实质审查的生效;IPC(主分类):G01N33/543;申请日:20231012
2023-11-17
公布
状态信息
公布
摘要
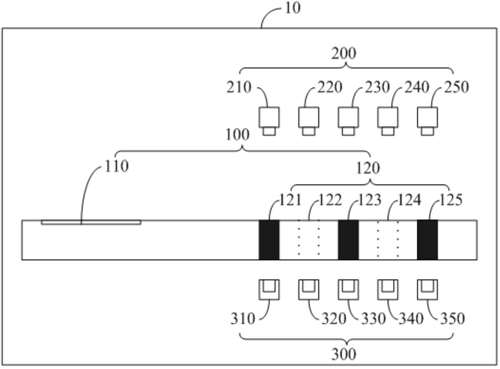
本发明提供了一种胶体金免疫层析分析仪的检测方法,胶体金免疫层析分析仪包括胶体金免疫层析试纸条、多个发光器件、多个传感器以及控制器;胶体金免疫层析试纸条包括用于盛放待测物的加液区以及对待测物进行检测的检测区,检测区包括多个检测子区域;多个发光器件的个数、多个传感器的个数以及多个检测子区域的个数均相同;多个发光器件一一对应设置在多个检测子区域上方,用于照射多个检测子区域;多个传感器用于一一对应获取多个检测子区域的光子数量;控制器控制多个发光器件的驱动电流,以使在将待测物滴入加液区前,多个检测子区域的光子数量差值小于预设光子数量差值。本发明消除了各个检测子区域的照度差异,提高了检测准确性。


