授权公布号:CN218883355U
一种气体管路自动排液装置
有效
申请
2022-09-30
申请公布
1970-01-01
授权
2023-04-18
预估到期
2032-09-30
| 申请号 | CN202222625178.8 |
| 申请日 | 2022-09-30 |
| 授权公布号 | CN218883355U |
| 授权公告日 | 2023-04-18 |
| 分类号 | F16L55/07;B64F5/40 |
| 分类 | 工程元件或部件;为产生和保持机器或设备的有效运行的一般措施;一般绝热; |
| 申请人名称 | 合肥江航飞机装备股份有限公司 |
| 申请人地址 | 安徽省合肥市包河工业区延安路35号 |
专利法律状态
2023-04-18
授权
状态信息
授权
摘要
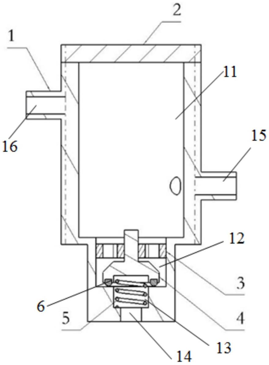
本实用新型属于飞机气体管路维护技术领域,具体涉及一种气体管路自动排液装置。包括壳体(1)、上盖板(2)、活门挡圈(3)、排液活门(4)、弹簧(5);所述上盖板(2)与所述壳体(1)上端密封固定连接;结构简单,分水效率高,气体通过时,利用离心分离和重力分离两种方式,分离气体中的液态水,当气路通气时,在压力作用下排液口关闭保证气路密封,当气路关闭后,排液口打开自动排液。


