授权公布号:CN214569488U
一种丝绸织物收集固定装置
有效
申请
2021-04-28
申请公布
1970-01-01
授权
2021-11-02
预估到期
2031-04-28
| 申请号 | CN202120906727.1 |
| 申请日 | 2021-04-28 |
| 授权公布号 | CN214569488U |
| 授权公告日 | 2021-11-02 |
| 分类号 | B65H19/30;B65H23/26;B65H18/10 |
| 分类 | 输送;包装;贮存;搬运薄的或细丝状材料; |
| 申请人名称 | 上海丝绸集团品牌发展有限公司 |
| 申请人地址 | 上海市虹口区四川北路1666号17楼 |
专利法律状态
2021-11-02
授权
状态信息
授权
摘要
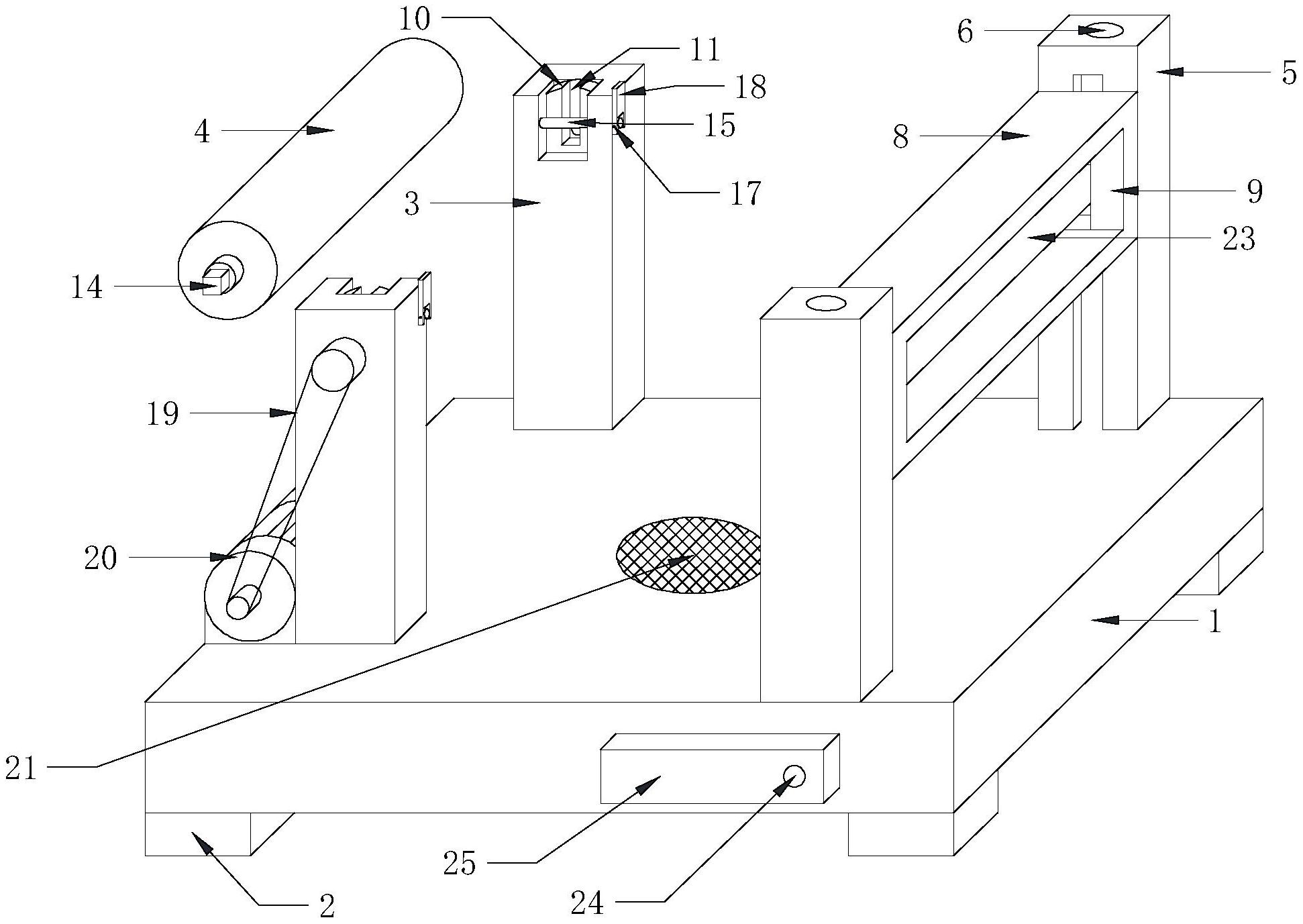
本实用新型属于丝绸织物生产设备技术领域,具体公开了一种丝绸织物收集固定装置,包括底座,所述底座底端设有支脚,所述底座顶端一侧对称设有固定架,所述固定架之间设有收卷辊,所述底座顶端另一侧设有固定杆,所述固定杆内部设有螺杆,所述螺杆上设有移动块,所述移动块之间固定设有移动板,所述移动板中间设有通孔,本实用新型通过设置的带有固定槽的转盘可以方便对收卷辊进行固定同时对收卷辊进行传动,在拆卸时仅需将固定槽口旋转至顶端即可将收卷辊取下,方便操作人员进行安装拆卸工作,通过设置的移动式除皱辊可以方便的对丝绸织物提供缓冲,避免丝绸织物在收卷过程中收卷速度波动导致出现褶皱。


