授权公布号:CN114063375B
一种光源系统
有效
申请
2020-08-10
申请公布
2022-02-18
授权
2024-01-23
预估到期
2040-08-10
| 申请号 | CN202010796233.2 |
| 申请日 | 2020-08-10 |
| 申请公布号 | CN114063375A |
| 申请公布日 | 2022-02-18 |
| 授权公布号 | CN114063375B |
| 授权公告日 | 2024-01-23 |
| 分类号 | G03B21/20 |
| 分类 | 摄影术;电影术;利用了光波以外其他波的类似技术;电记录术;全息摄影术〔4〕; |
| 申请人名称 | 极米科技股份有限公司 |
| 申请人地址 | 四川省成都市高新区世纪城路1129号天府软件园A区4栋1单元2层2号 |
专利法律状态
2024-01-23
授权
状态信息
授权
2022-03-08
实质审查的生效
状态信息
实质审查的生效;IPC(主分类):G03B21/20;申请日:20200810
2022-02-18
公布
状态信息
公布
摘要
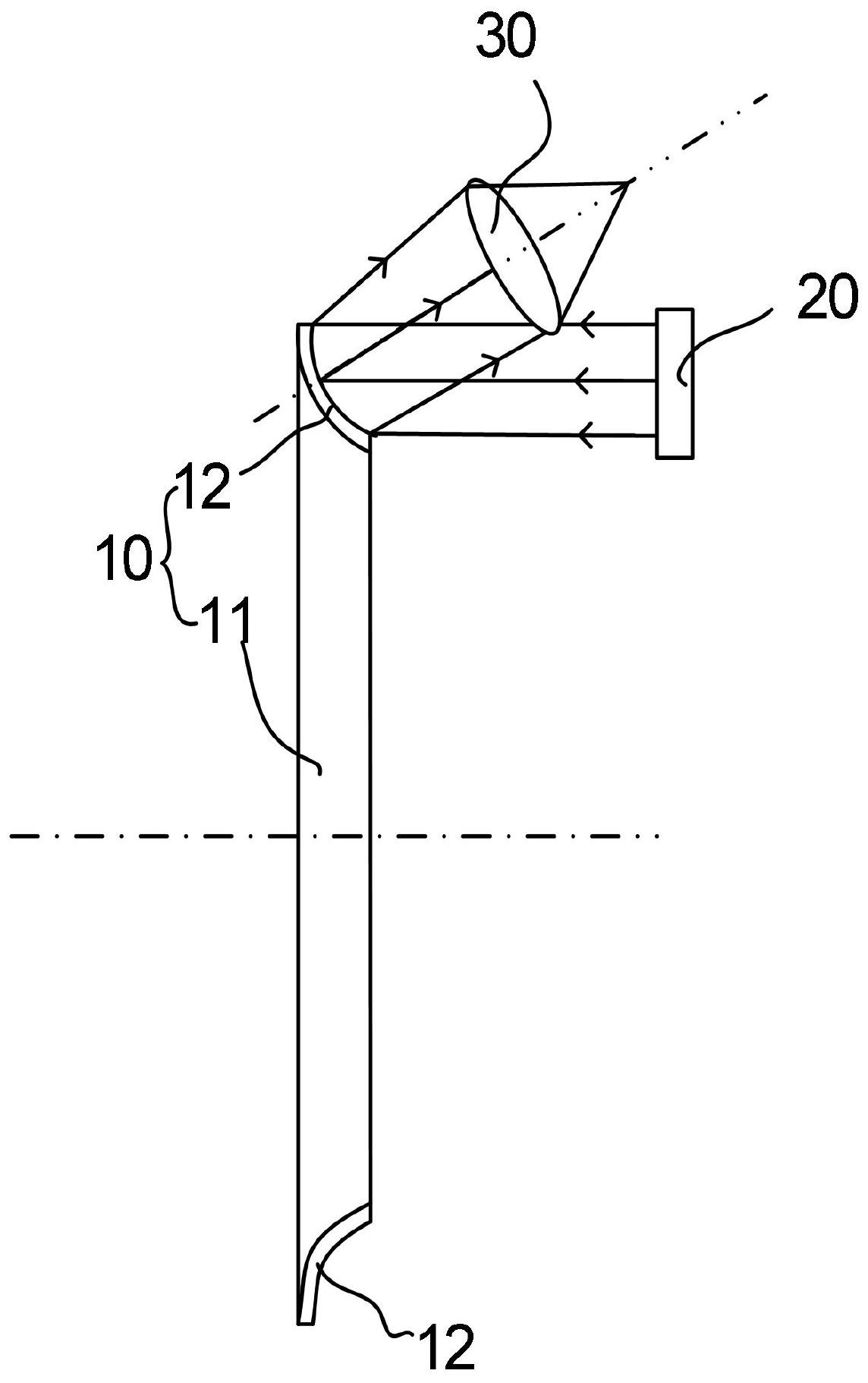
本发明公开了一种光源系统,包括激发光源、波长转换器以及聚焦元件;其中,波长转换器包括基板,基板至少包括一个波长转换区域,波长转换区域的表面设置有波长转换材料层;波长转换区域设置波长转换材料层的表面为凹形表面;激发光源用于向基板的波长转换区域输出激发光;波长转换材料层用于在波长转换区域的凹形表面被激发光激发产生被激发光;聚焦元件设置在波长转换器的输出光路上用于将波长转换器输出的光线汇聚输出。本申请的光源系统中将波长转换区域的表面设置成凹形表面的结构,提高波长转换器输出被激发光线的聚光度,并在保持光学拓展量不变的情况下,增大了波长转换层的表面积,进而增大波长转换器在光源系统中的光效。


