授权公布号:CN109960099B
一种非共轴的投影光源系统
有效
申请
2019-04-30
申请公布
2019-07-02
授权
2024-03-15
预估到期
2039-04-30
| 申请号 | CN201910365128.0 |
| 申请日 | 2019-04-30 |
| 申请公布号 | CN109960099A |
| 申请公布日 | 2019-07-02 |
| 授权公布号 | CN109960099B |
| 授权公告日 | 2024-03-15 |
| 分类号 | G03B21/20;G02B26/00 |
| 分类 | 摄影术;电影术;利用了光波以外其他波的类似技术;电记录术;全息摄影术〔4〕; |
| 申请人名称 | 极米科技股份有限公司 |
| 申请人地址 | 四川省成都市高新区世纪城路1129号天府软件园A区4栋1单元2层2号 |
专利法律状态
2024-03-15
授权
状态信息
授权
2019-07-02
公布
状态信息
公布
摘要
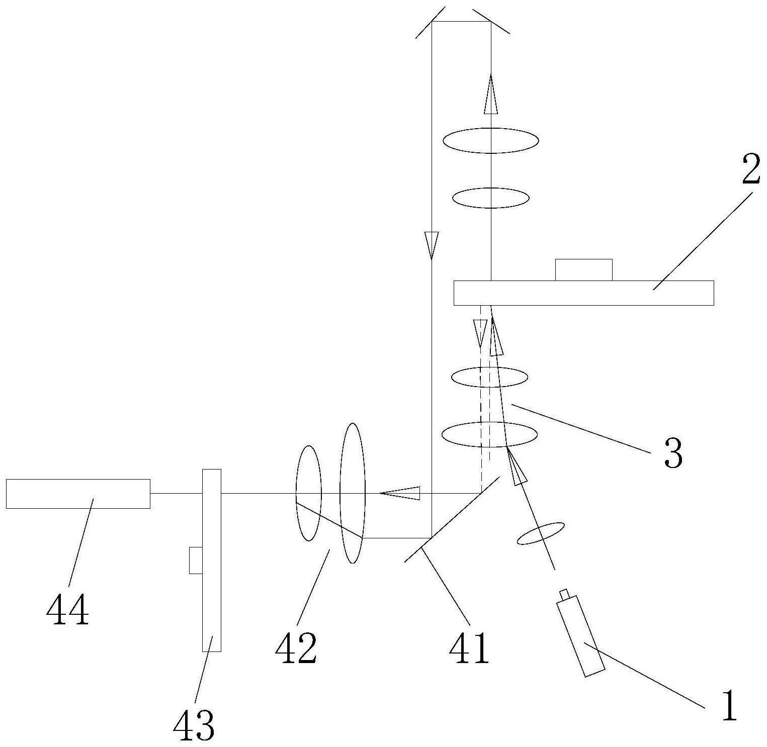
本发明公开一种非共轴的投影光源系统,包括光源、荧光轮和位于两者之间的汇聚整形镜片组,所述光源发出的激发光以倾斜于汇聚整形镜片组的光轴方向射向汇聚整形镜片组后射到荧光轮上,荧光轮上激发产生的辐射荧光射向汇聚整形镜片组后汇聚至与激发光不同的光路方向上输出。本发明所述的非共轴的投影光源系统,结构简单紧凑,省去使用进行分光的二向色镜,有效的减少系统组成部件,降低系统成本,减小系统占用体积,使得系统结构更加紧凑,减小光输送过程的损耗,提高光源输出亮度。


