授权公布号:CN116430600B
一种合光系统及投影设备
有效
申请
2023-06-13
申请公布
2023-07-14
授权
2023-09-01
预估到期
2043-06-13
| 申请号 | CN202310694872.1 |
| 申请日 | 2023-06-13 |
| 申请公布号 | CN116430600A |
| 申请公布日 | 2023-07-14 |
| 授权公布号 | CN116430600B |
| 授权公告日 | 2023-09-01 |
| 分类号 | G02B27/10;G03B21/20 |
| 分类 | 光学; |
| 申请人名称 | 极米科技股份有限公司 |
| 申请人地址 | 四川省成都市高新区世纪城路1129号天府软件园A区4栋 |
专利法律状态
2023-09-01
授权
状态信息
授权
2023-07-14
公布
状态信息
公布
摘要
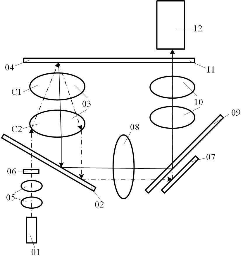
本申请涉及显示技术领域,公开了一种合光系统及投影设备;在合光系统中,在第一光光斑的光轴与聚焦透镜组的光轴之间相距的距离为第一距离的情况下,来使光源产生的第一光经光引导元件或避开光引导元件直接射入聚焦透镜组,经聚焦透镜组聚焦后射入波长转换区,激发出射第二光;第一距离考虑了聚焦透镜组的各种参数和第一光射入波长转换区的角度,因此可以提高第一光的光利用率,减少第二光在光引导元件上的损失,从而可以提高投影设备亮度。


