授权公布号:CN215551852U
一种手提袋平面烫印机
有效
申请
2021-05-21
申请公布
1970-01-01
授权
2022-01-18
预估到期
2031-05-21
| 申请号 | CN202121104432.9 |
| 申请日 | 2021-05-21 |
| 授权公布号 | CN215551852U |
| 授权公告日 | 2022-01-18 |
| 分类号 | B41F19/06;B41F16/00 |
| 分类 | 印刷;排版机;打字机;模印机〔4〕; |
| 申请人名称 | 青岛景钢烫印设备有限公司 |
| 申请人地址 | 山东省青岛市即墨区环秀街道小韩村中心大街8号 |
专利法律状态
2022-01-18
授权
状态信息
授权
摘要
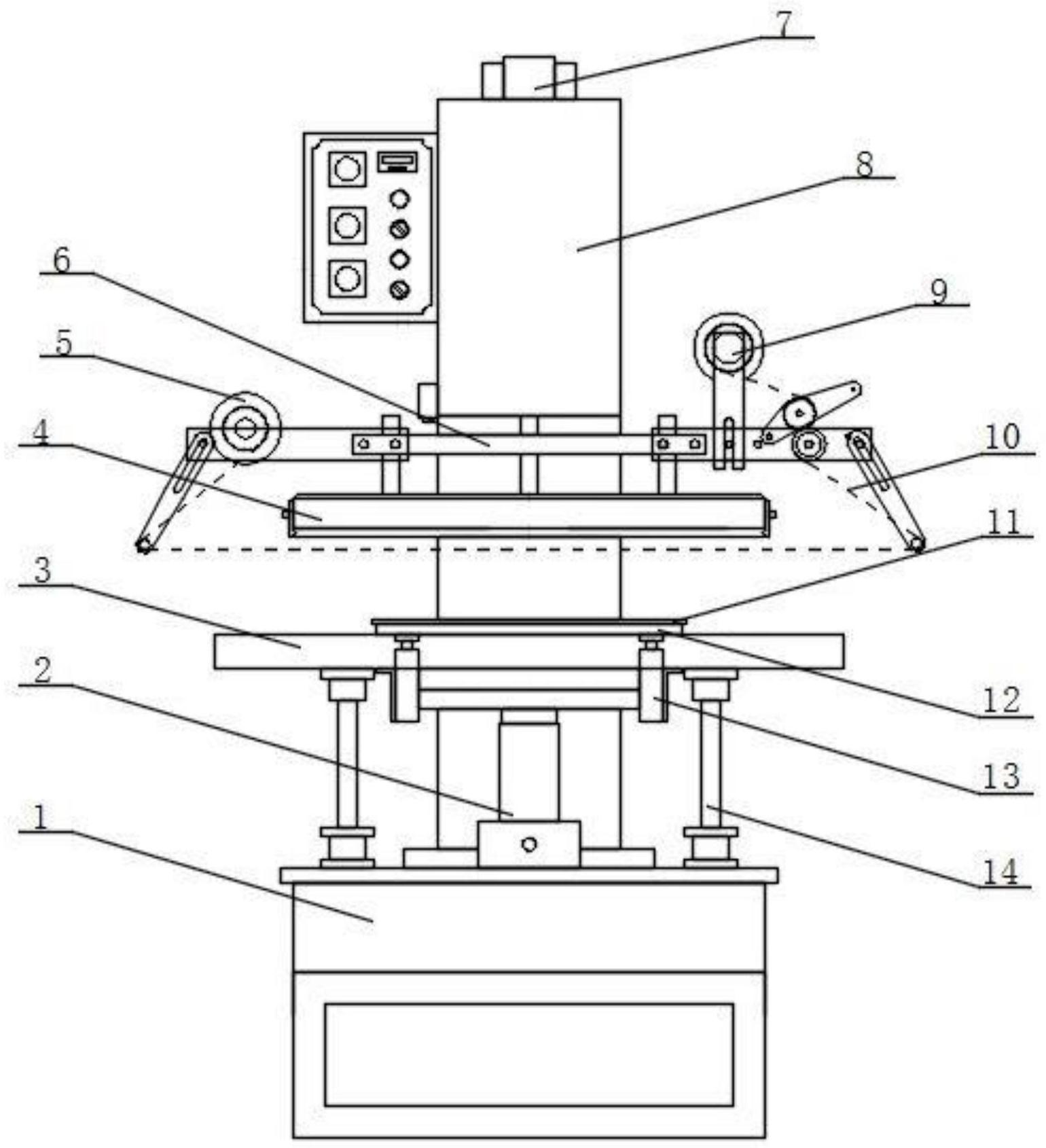
一种手提袋平面烫印机,机体装在底箱上面的后部,机体内的上部装有缸杆上置的烫印气缸,烫印气缸缸杆的上端装有前置的纵向连杆,纵向连杆的前端装有下置的竖向连杆,竖向连杆的下端装有平衡架,平衡架的左侧装有置箔装置,平衡架的右侧装有卷箔装置,平衡架的下面装有加热板;其特点是加热板下方的底箱上装有竖向的升降丝杠,升降丝杠的上端装有平面工作台,工作台的四角与底箱之间分别装有平衡丝杠,工作台的后边左右排装有两个缸杆上置的定位气缸,两个定位气缸缸杆的上端之间装有横向座板,横向座板上装有向前伸展的定位模板。它解决了普通烫印机烫印手提袋,工作效率低的问题,特别适合包装烫印企业使用。


