授权公布号:CN218976574U
一种整流板固定装置
有效
申请
2022-10-10
申请公布
1970-01-01
授权
2023-05-05
预估到期
2032-10-10
| 申请号 | CN202222664522.4 |
| 申请日 | 2022-10-10 |
| 授权公布号 | CN218976574U |
| 授权公告日 | 2023-05-05 |
| 分类号 | H02M7/02;H05K7/14;H05K7/20 |
| 分类 | 发电、变电或配电; |
| 申请人名称 | 上海沪工焊接集团股份有限公司 |
| 申请人地址 | 上海市青浦区外青松公路7177号 |
专利法律状态
2023-05-05
授权
状态信息
授权
摘要
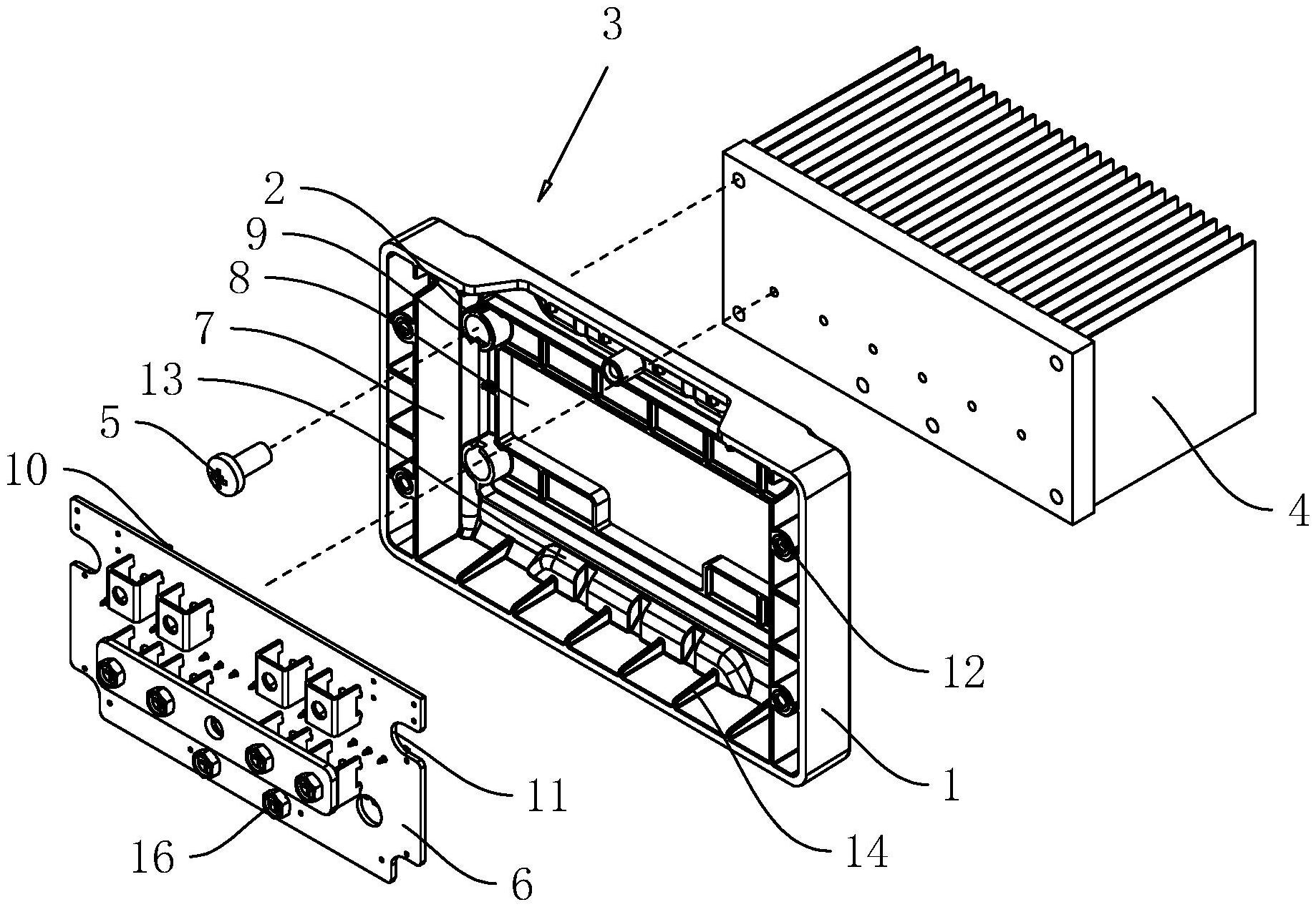
本申请涉及整流板固定技术领域,尤其是涉及一种整流板固定装置,包括固定盒,所述固定盒的侧壁上开设有第一卡槽,整流板卡接在所述第一卡槽内壁上,散热器固定在所述固定盒背离所述第一卡槽的一侧,所述固定盒的侧壁上开设有固定孔,所述固定孔内螺纹连接有用于连接整流板与所述固定盒的锁止销。本申请具有方便整流板和散热器的组装,减小组装整流板和散热器的过程中浪费工作人员大量时间的效果。


