授权公布号:CN218863406U
一种用于阀门的笔式传感器的安装结构
有效
申请
2022-09-23
申请公布
1970-01-01
授权
2023-04-14
预估到期
2032-09-23
| 申请号 | CN202222522979.1 |
| 申请日 | 2022-09-23 |
| 授权公布号 | CN218863406U |
| 授权公告日 | 2023-04-14 |
| 分类号 | F16K37/00 |
| 分类 | 工程元件或部件;为产生和保持机器或设备的有效运行的一般措施;一般绝热; |
| 申请人名称 | 中核苏阀科技实业股份有限公司 |
| 申请人地址 | 江苏省苏州市珠江路501号 |
专利法律状态
2023-04-14
授权
状态信息
授权
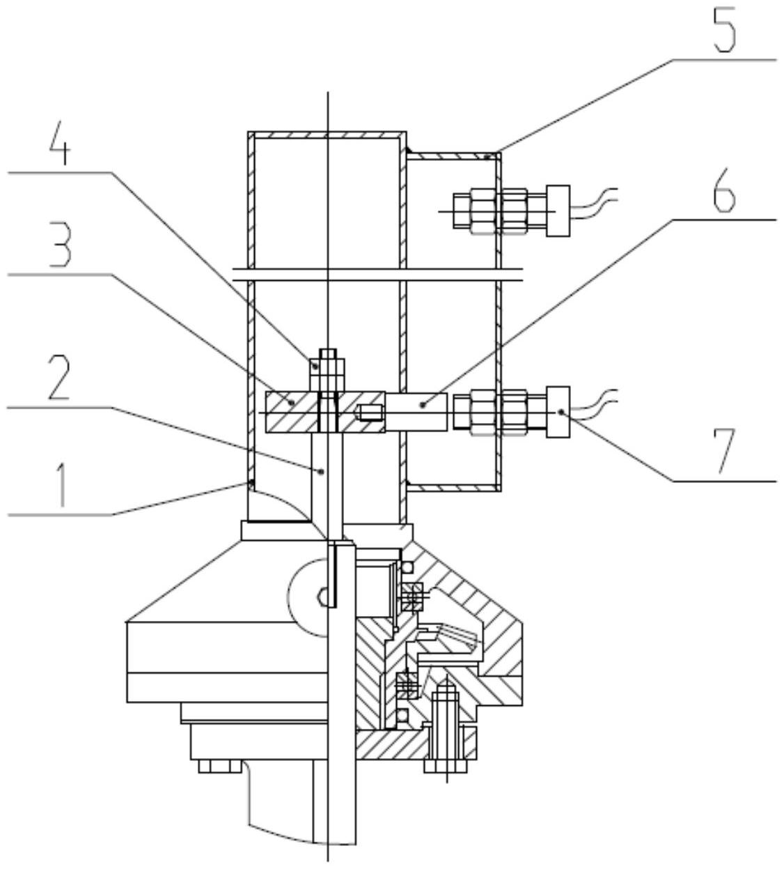
摘要
本新型申请属于工业阀门领域,具体涉及一种用于阀门的笔式传感器的安装结构。一种用于阀门的笔式传感器的安装结构,其中,包括防尘罩,在防尘罩的侧壁设置支撑板,在防尘罩内设置定位组件,在支撑板与防尘罩围成的空间内设置感应组件。本新型的显著效果是:可以在防尘罩的一侧安装笔式传感器,实现行程开关的功能。相比于在防尘罩上方安装笔式传感器的安装方法,本申请所述结构更稳定,支撑板不会由于倾斜导致笔式传感器不能感应到阀杆位置,可靠性更高。本申请也避免了在防尘罩上方安装笔式传感器导致阀门总高度加高,同时本申请也更加美观。


