授权公布号:CN218377691U
一种基于多通先导阀组的多源双模驱动阀门结构
有效
申请
2022-06-02
申请公布
1970-01-01
授权
2023-01-24
预估到期
2032-06-02
| 申请号 | CN202221370985.3 |
| 申请日 | 2022-06-02 |
| 授权公布号 | CN218377691U |
| 授权公告日 | 2023-01-24 |
| 分类号 | F16K1/00;F16K1/32;F16K31/383 |
| 分类 | 工程元件或部件;为产生和保持机器或设备的有效运行的一般措施;一般绝热; |
| 申请人名称 | 中核苏阀科技实业股份有限公司 |
| 申请人地址 | 江苏省苏州市珠江路501号 |
专利法律状态
2023-01-24
授权
状态信息
授权
摘要
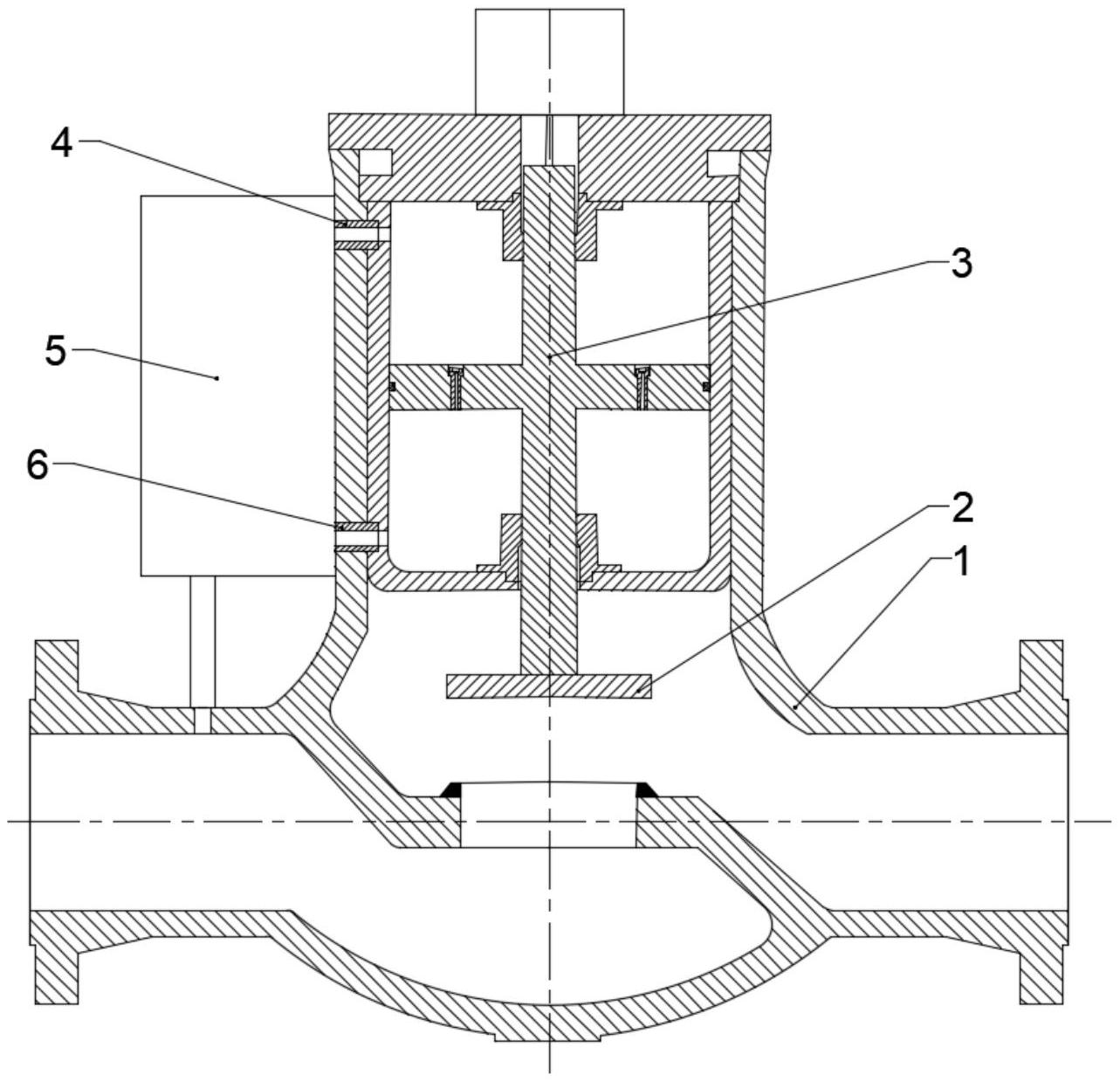
本新型属于阀门设备技术领域,特别涉及基于多通先导阀组的多源双模驱动阀门结构及方法。一种多通先导阀组的多源双模驱动阀门结构,其中,包括阀体,在阀体的内部空腔中设置活塞式运动组件,该活塞式运动组件通过阀体侧壁设置的通孔与设置在阀体外部的多通先导阀组连通。本新型的有益效果是:1)、本新型通过多通先导阀组进行多源双模驱动阀门,代替传统能源驱动装置所对阀芯施加启闭力,充分利用管道系统资源,降低能耗,可应用于截止阀、闸阀、球阀、蝶阀等多类型阀门。2)、本新型的多源双模驱动阀门,外形紧凑,节省设备空间环境,模块化设计,便于维修,整体成本低。3)、本新型自动化控制高,利于阀门的数字化、智慧化发展。


