授权公布号:CN220356927U
一种反应杯及光学分析装置
有效
申请
2023-08-23
申请公布
1970-01-01
授权
2024-01-16
预估到期
2033-08-23
| 申请号 | CN202322288767.6 |
| 申请日 | 2023-08-23 |
| 授权公布号 | CN220356927U |
| 授权公告日 | 2024-01-16 |
| 分类号 | G01N21/03;G01N21/59 |
| 分类 | 测量;测试; |
| 申请人名称 | 深圳市理邦精密仪器股份有限公司 |
| 申请人地址 | 广东省深圳市坪山新区坑梓街道金沙社区金辉路15号 |
专利法律状态
2024-01-16
授权
状态信息
授权
摘要
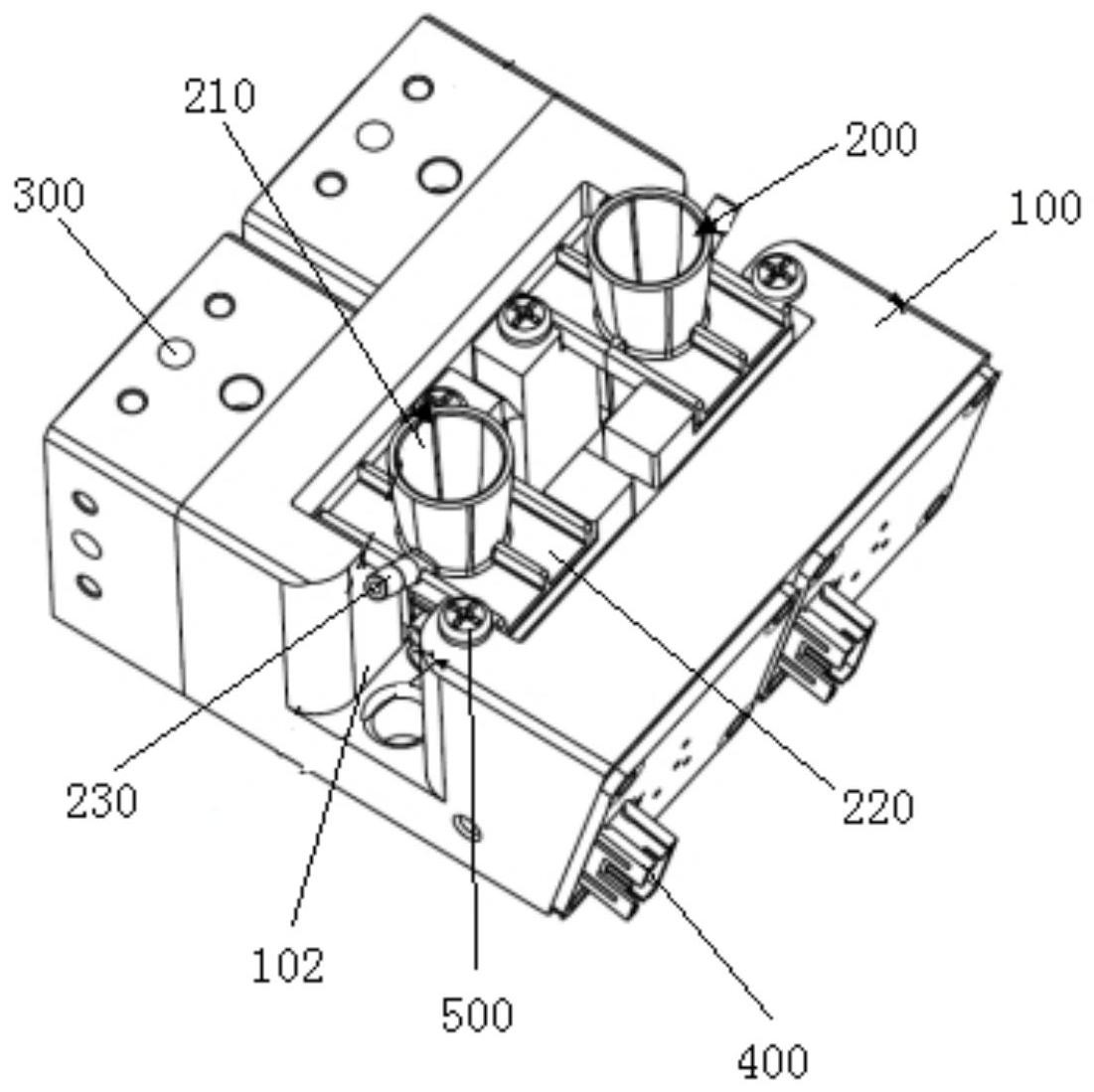
本实用新型公开了一种反应杯及光学分析装置,光学分析装置包括固定座、反应杯、光源组件和光源接收器;反应杯包括杯体和导液结构,杯体的上端设有敞开的杯口;导液结构围绕连接在杯体的外壁面上,导液结构上形成有与杯体外壁面相通的导液通道,自杯口溢出的反应液适于经过导液通道向外排出。通过在杯体的外壁面额外设置导液结构,导液结构上的导液通道可以引导自杯体杯口溢出反应液的流向,避免溢出的反应液污染光学检测通道,甚至破坏光学器件,提高了光学分析装置测量结果的准确性,降低了光学分析装置的故障率。


