授权公布号:CN218377740U
一种用于轴封系统的高压差微小流量调节阀
有效
申请
2022-08-23
申请公布
1970-01-01
授权
2023-01-24
预估到期
2032-08-23
| 申请号 | CN202222228654.2 |
| 申请日 | 2022-08-23 |
| 授权公布号 | CN218377740U |
| 授权公告日 | 2023-01-24 |
| 分类号 | F16K1/36;F16K1/32 |
| 分类 | 工程元件或部件;为产生和保持机器或设备的有效运行的一般措施;一般绝热; |
| 申请人名称 | 中核苏阀科技实业股份有限公司 |
| 申请人地址 | 江苏省苏州市珠江路501号 |
专利法律状态
2023-01-24
授权
状态信息
授权
摘要
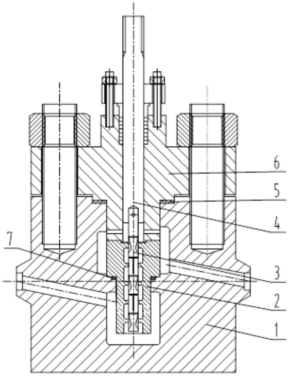
本发明属于阀门,具体涉及一种用于轴封系统的高压差微小流量调节阀。一种用于轴封系统的高压差微小流量调节阀,其中,包括阀体,在阀体内设置阀套,在阀套内设置阀芯,阀芯顶端与阀杆固定连接,阀体上设置阀盖,阀杆贯穿阀盖并伸到阀盖外部。本发明的显著效果是:阀芯开设多条油槽由潜到深油槽,且相邻每段油槽相互错开,并与之阀套形成多条拐弯的流路,从而适用于高压差流体控制。具有高压差的微小流量控制、可调比大、控制精度高、加工方便等特点。


