授权公布号:CN218608709U
一种可与家用制氧机配合使用的氮气收集装置
有效
申请
2022-11-04
申请公布
1970-01-01
授权
2023-03-14
预估到期
2032-11-04
| 申请号 | CN202222949537.5 |
| 申请日 | 2022-11-04 |
| 授权公布号 | CN218608709U |
| 授权公告日 | 2023-03-14 |
| 分类号 | B01D53/04;C01B13/02 |
| 分类 | 一般的物理或化学的方法或装置; |
| 申请人名称 | 深圳市莱康宁医用科技股份有限公司 |
| 申请人地址 | 广东省深圳市南山区桃源街道平山社区留仙大道1213号众冠红花岭工业南区2区1栋7层 |
专利法律状态
2023-03-14
授权
状态信息
授权
摘要
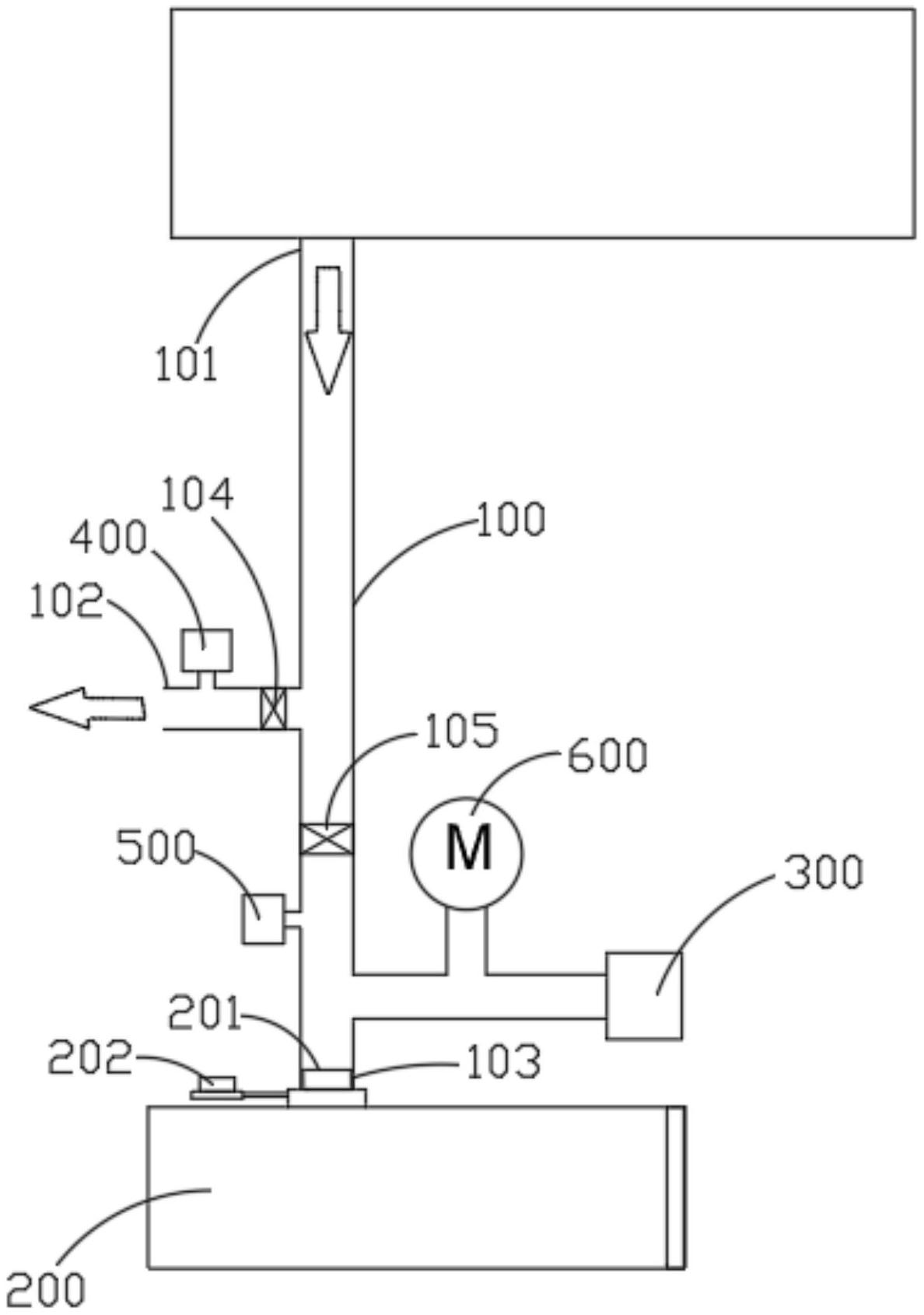
本实用新型涉及一种可与家用制氧机配合使用的氮气收集装置,包括气管、收集氮气的回收袋、检测回收袋内气压的压力检测器;该可与家用制氧机配合使用的氮气收集装置结构简单,结合家用制氧机使用,在制氧过程中无需采用净化液,通过在回收袋内设有干燥包和脱氧包,使得回收袋内的氮气更干燥,也更纯净;通过将回收的氮气回收起来再利用,使得回收袋内放置的物品在干燥的惰性气体的保护下存放的更久;通过压力检测器时时检测回收袋内的气压,能够保证回收袋抽气和充气过程安全、可靠,使用方便。


