授权公布号:CN209137528U
一种无油真空枪
有效
申请
2018-09-14
申请公布
1970-01-01
授权
2019-07-23
预估到期
2028-09-14
| 申请号 | CN201821504429.4 |
| 申请日 | 2018-09-14 |
| 授权公布号 | CN209137528U |
| 授权公告日 | 2019-07-23 |
| 分类号 | A61M1/08;A61M1/00;A61H9/00 |
| 分类 | 医学或兽医学;卫生学; |
| 申请人名称 | 北京康祝医疗器械有限公司 |
| 申请人地址 | 北京市通州区中关村科技园区通州园金桥科技产业基地景盛南四街11号 |
专利法律状态
2019-07-23
授权
状态信息
授权
摘要
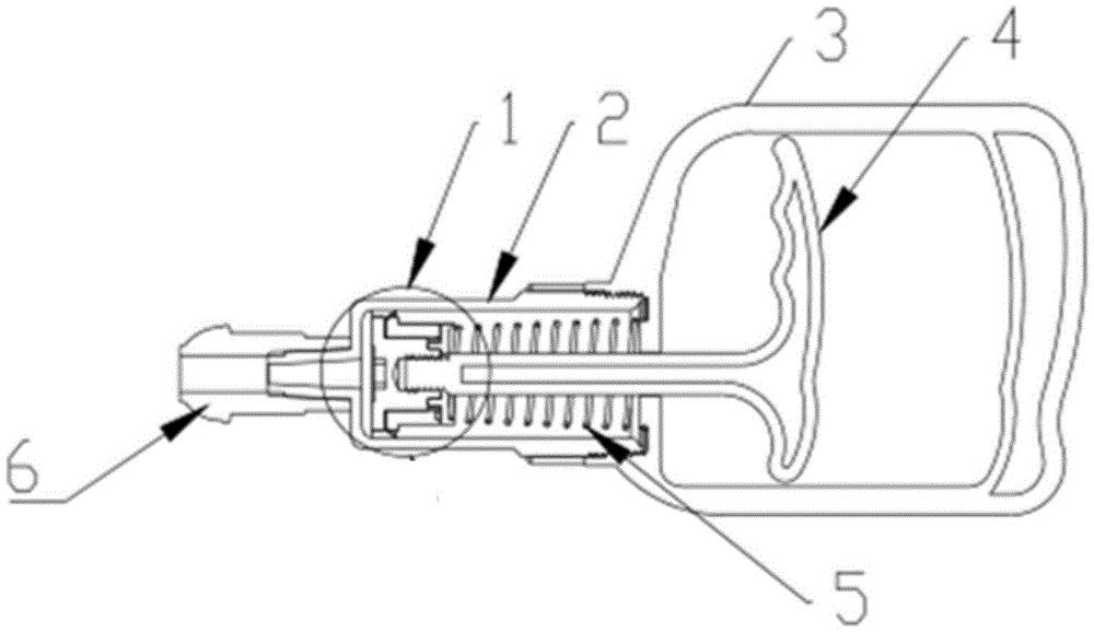
本实用新型公开一种无油真空枪,包括拉杆(4)、弹性元件、活塞组件(1)和气筒(2),所述活塞组件(1)位于所述气筒(2)内,所述活塞组件(1)外壁与所述气筒(2)内壁密封抵靠,所述弹性元件套设于所述拉杆(4)上,所述拉杆(4)下端部伸入所述气筒(2)内且延伸至所述活塞组件(1)内,所述拉杆(4)上端部位于所述气筒(2)外部,所述活塞组件(1)通过所述弹性元件上下连接于所述气筒(2)内,所述气筒(2)前部与拔罐器可解除式连通。本实用新型的一种无油真空枪,其结构设计合理、免维护和使用方便,在生产组装过程中大大减轻工人的工作强度。


