授权公布号:CN209137529U
一种真空拔罐器用的电动抽气装置
有效
申请
2018-09-14
申请公布
1970-01-01
授权
2019-07-23
预估到期
2028-09-14
| 申请号 | CN201821504484.3 |
| 申请日 | 2018-09-14 |
| 授权公布号 | CN209137529U |
| 授权公告日 | 2019-07-23 |
| 分类号 | A61M1/08;A61H9/00 |
| 分类 | 医学或兽医学;卫生学; |
| 申请人名称 | 北京康祝医疗器械有限公司 |
| 申请人地址 | 北京市通州区中关村科技园区通州园金桥科技产业基地景盛南四街11号 |
专利法律状态
2019-07-23
授权
状态信息
授权
摘要
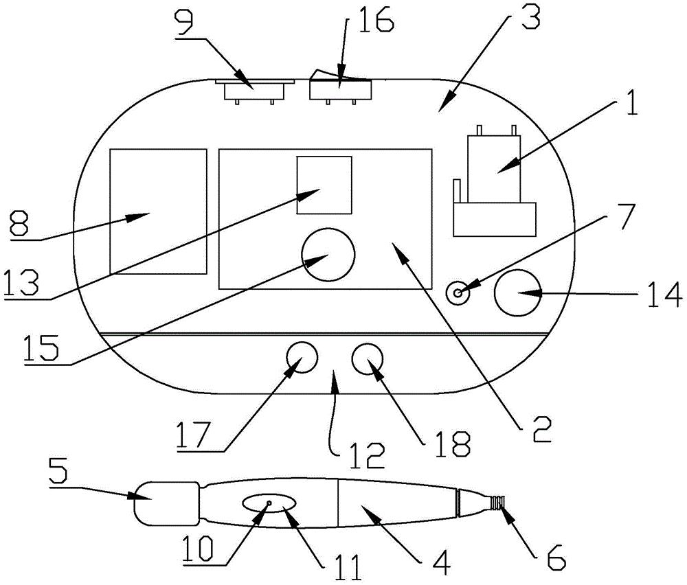
本实用新型公开了一种真空拔罐器用的电动抽气装置,包括直流真空泵、控制电路板、台式外壳和操作手柄,直流真空泵和控制电路板设于台式外壳内,控制电路板与直流真空泵电连接,操作手柄的前端设有解除式连接器,操作手柄的后端设有抽气连接口,操作手柄内设有前后贯通的抽气腔,抽气连接口、解除式连接器和抽气腔三者连通,台式外壳上设有输出接口,直流真空泵的抽气口与输出接口的一端连通,输出接口的另一端与抽气连接口连通,解除式连接器与拔罐器上的单向阀门可解除式连接。本实用新型的一种真空拔罐器用的电动抽气装置,可自动将拔罐器内的空气抽出,省力,使用方便,工作效率高,拔罐器内的负压达到设定值后可自动停止工作。


