授权公布号:CN113291258B
一种风干无接触洗车机
有效
申请
2021-06-10
申请公布
2021-08-24
授权
2022-10-25
预估到期
2041-06-10
| 申请号 | CN202110646240.9 |
| 申请日 | 2021-06-10 |
| 申请公布号 | CN113291258A |
| 申请公布日 | 2021-08-24 |
| 授权公布号 | CN113291258B |
| 授权公告日 | 2022-10-25 |
| 分类号 | B60S3/00;B60S3/04 |
| 分类 | 一般车辆; |
| 申请人名称 | 青岛日森机电有限公司 |
| 申请人地址 | 山东省青岛市青岛经济技术开发区前湾港路西首辛安工业园内 |
专利法律状态
2022-10-25
授权
状态信息
授权
2021-08-24
公布
状态信息
公布
摘要
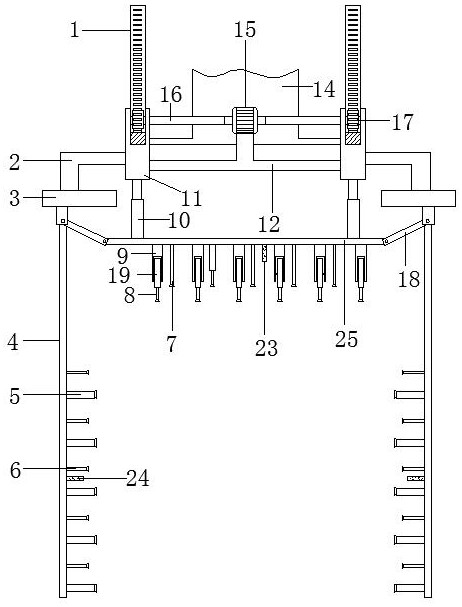
本发明公开了一种风干无接触洗车机,涉及无接触洗车技术领域,针对一般无接触洗车机清洗完车子后,对车子的除水烘干效果不佳的问题,现提出如下方案,包括两个弧形轨道,所述弧形轨道的外部均滑动套设有移动U型吊板,两个所述U型吊板之间固定连接有第一T形板,所述T的顶部固定设有动力装置,两个所述U型吊板相互远离的一侧均固定连接有L板,所述L板的底部均固定连接有矩形板,所述矩形板的底部均沿长度方向滑动设有第一吹洗装置。本发明设计新颖,操作简单,不仅方便控制装置左右重复对车子进行清洗、烘干,而且方便通过调整第一喷气嘴与第二喷气嘴的角度,进而起到更好的除水效果。


