授权公布号:CN213663633U
一种改进型的奶油涂布头
有效
申请
2020-12-03
申请公布
1970-01-01
授权
2021-07-13
预估到期
2030-12-03
| 申请号 | CN202022859329.7 |
| 申请日 | 2020-12-03 |
| 授权公布号 | CN213663633U |
| 授权公告日 | 2021-07-13 |
| 分类号 | A23P20/15 |
| 分类 | 其他类不包含的食品或食料;及其处理; |
| 申请人名称 | 福建泓一实业有限公司 |
| 申请人地址 | 福建省泉州市石狮市高新技术开发区鑫盛路2号 |
专利法律状态
2021-07-13
授权
状态信息
授权
摘要
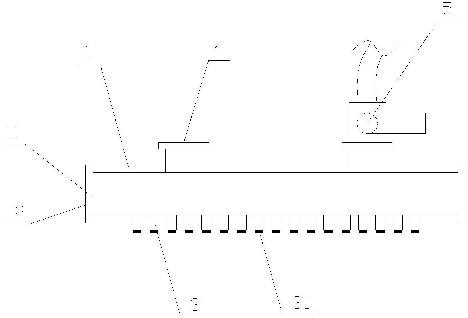
本实用新型公开的是一种改进型的奶油涂布头,包括呈长条管体结构的奶油储料腔体,奶油储料腔体的左、右两侧分别设有开口,开口上配合焊接有一连接头,奶油储料腔体的第一储料物输入端与左、右两侧的其中一个连接头相配合连接设置;奶油储料腔的底部均匀布设有若干个涂布头体,奶油储料腔上部的左、右两侧分别焊设有一快装接头,奶油储料腔体的第二储料物输入端以及一排气阀分别与两快装接头相配合连接。本实用新型可以使奶油储料腔体内的压力在涂布操作时保持相对恒定,同时,奶油储料腔体内夹杂的空气通过排气阀排出奶油储料腔体外,无内置空气存留,确保奶油涂布时,涂布层厚薄均匀,克重稳定,提高奶油涂布质量和产品品质。


