授权公布号:CN211884835U
鼻腔雾化器
有效
申请
2020-01-13
申请公布
1970-01-01
授权
2020-11-10
预估到期
2030-01-13
| 申请号 | CN202020057405.X |
| 申请日 | 2020-01-13 |
| 授权公布号 | CN211884835U |
| 授权公告日 | 2020-11-10 |
| 分类号 | A61M11/00 |
| 分类 | 医学或兽医学;卫生学; |
| 申请人名称 | 英华融泰医疗科技股份有限公司 |
| 申请人地址 | 内蒙古自治区包头市稀土高新区滨河新区大学科技园区火炬路10号 |
专利法律状态
2020-11-10
授权
状态信息
授权
摘要
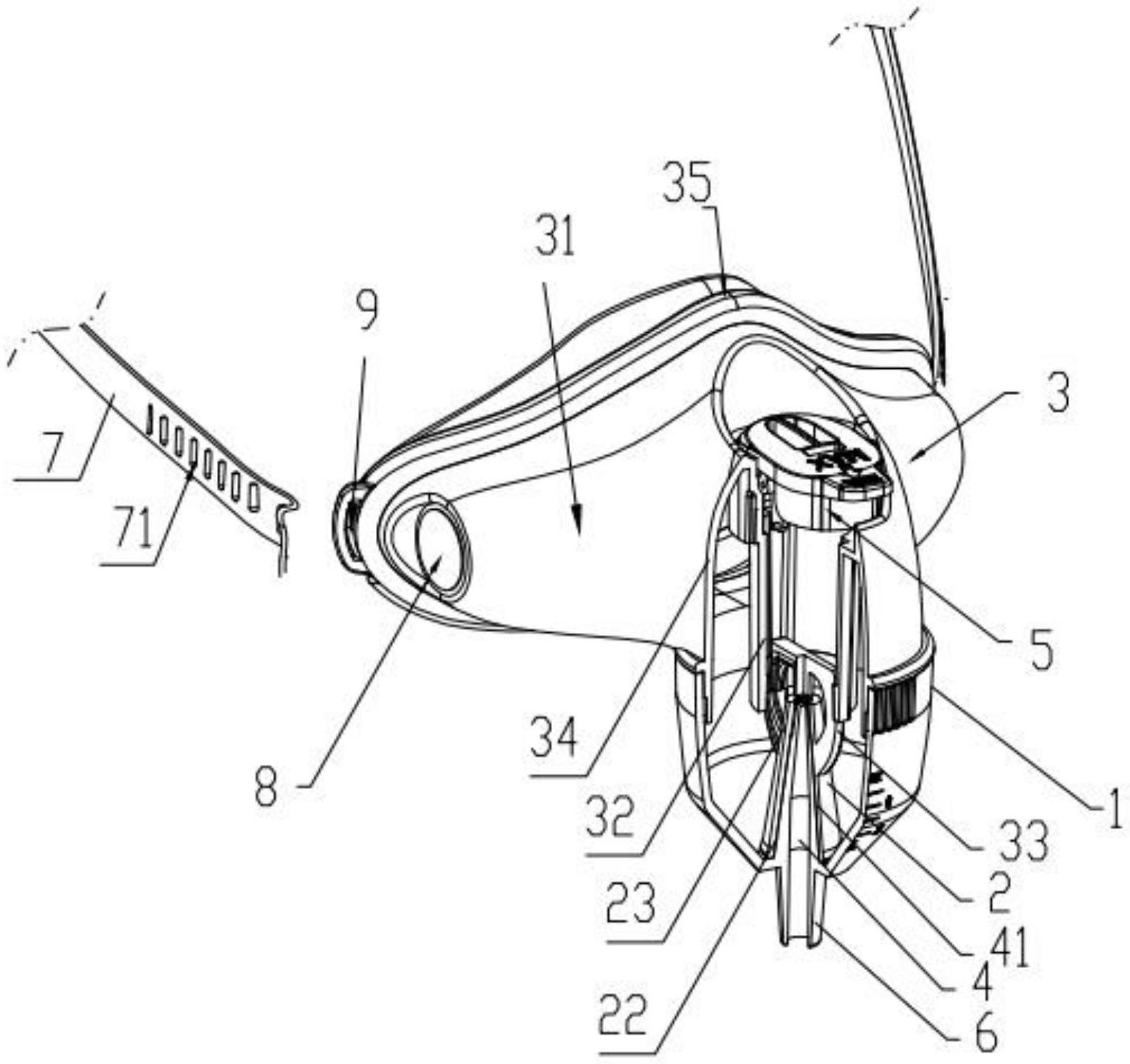
本实用新型公开了一种鼻腔雾化器,涉及雾化器技术领域。所述雾化器包括雾化器杯体、雾化发生器和鼻罩主体,所述雾化发生器位于所述雾化器杯体内,用于在气源的作用下将药液进行雾化,所述鼻罩主体的上、下端设有开口,且其侧壁上设有雾化气体喷出口,所述雾化发生器的出气口与所述鼻罩主体的下端开口相连通,所述鼻罩主体的上端开口内设置有补气调节阀,用于实现吸气导通,呼气截止,所述鼻罩主体侧壁的两侧设置有呼气口,所述呼气口内设置有呼气单向阀,当鼻子进行吸气时所述呼气单向阀关闭,当鼻子和口部进行呼气时所述呼气单向阀打开。所述雾化器可以降低鼻罩主体内CO2残留,减少药物外溢,进而减少药物的浪费。


