授权公布号:CN210369457U
一种集成房屋的墙体结构
有效
申请
2019-07-09
申请公布
1970-01-01
授权
2020-04-21
预估到期
2029-07-09
| 申请号 | CN201921059954.4 |
| 申请日 | 2019-07-09 |
| 授权公布号 | CN210369457U |
| 授权公告日 | 2020-04-21 |
| 分类号 | E04B2/84;E04B2/86 |
| 分类 | 建筑物; |
| 申请人名称 | 四川福美来新型建筑材料有限公司 |
| 申请人地址 | 四川省遂宁市大英县蓬莱镇工业集中发展区席家沟 |
专利法律状态
2020-04-21
授权
状态信息
授权
摘要
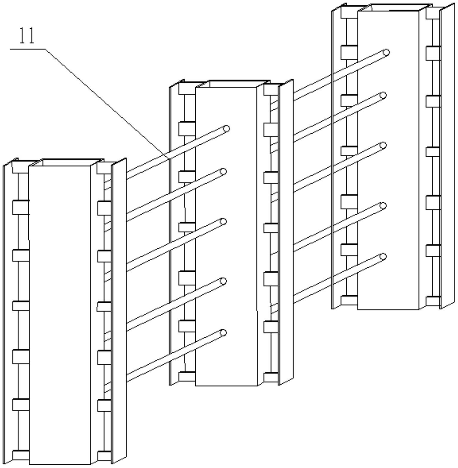
本实用新型公开了一种集成房屋的墙体结构,包括由水泥板作为外壁的墙体空腔;在墙体空腔内均匀设置至少2个矩形管,且相邻两个矩形管之间通过多根钢筋连接宽侧面;矩形管两个窄侧面上均连接T型钢;所述T型钢包括与窄侧面平行的腹板、与窄侧面垂直且连接的翼板;腹板一面垂直连接翼板、另一面连接水泥板;其中两个矩形管位于墙体空腔内首尾两端,且宽侧面于水泥板连接;还包括混泥土,所述混泥土与墙体空腔组成实心墙体,解决了传统墙体施工方式导致施工效率较低,工期较长,且施工质量存在风险的问题。


