授权公布号:CN208340677U
一种用于高分子材料添加剂的添加装置
有效
申请
2018-06-11
申请公布
1970-01-01
授权
2019-01-08
预估到期
2028-06-11
| 申请号 | CN201820896567.5 |
| 申请日 | 2018-06-11 |
| 授权公布号 | CN208340677U |
| 授权公告日 | 2019-01-08 |
| 分类号 | B01J4/00 |
| 分类 | 一般的物理或化学的方法或装置; |
| 申请人名称 | 四川福美来新型建筑材料有限公司 |
| 申请人地址 | 四川省遂宁市大英县蓬莱镇工业集中发展区席家沟 |
专利法律状态
2019-01-08
授权
状态信息
授权
摘要
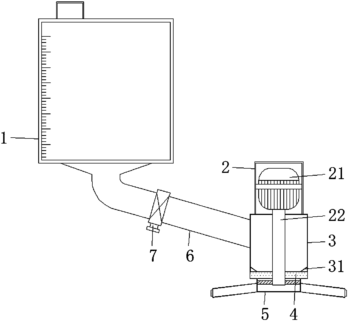
本实用新型公开了一种用于高分子材料添加剂的添加装置,包括添加剂管、固定筒、活动筒和输料管,所述添加剂管表面刻有刻度,所述添加剂管下表面与输料管的一端连通,所述输料管的另一端与固定筒连通,所述固定筒上表面安装有马达盒,所述马达盒内部固定有马达,所述马达底端安装有传动杆,所述传动杆一端贯穿固定筒安装有连接杆,所述连接杆与活动筒内壁固定连接,所述固定筒下表面通过转动装置本体与活动筒连接,所述活动筒外侧呈环形阵列安装有四个出料管,所述出料管一端与活动筒内部连通,所述出料管另一端开设有出料口。本实用新型具有控制加入的添加剂数量,添加剂分散加入原材料内,充分与原材料反应的优点。


