授权公布号:CN208277244U
一种高分子材料热熔装置
有效
申请
2018-06-11
申请公布
1970-01-01
授权
2018-12-25
预估到期
2028-06-11
| 申请号 | CN201820898141.3 |
| 申请日 | 2018-06-11 |
| 授权公布号 | CN208277244U |
| 授权公告日 | 2018-12-25 |
| 分类号 | B29B13/02 |
| 分类 | 塑料的加工;一般处于塑性状态物质的加工; |
| 申请人名称 | 四川福美来新型建筑材料有限公司 |
| 申请人地址 | 四川省遂宁市大英县蓬莱镇工业集中发展区席家沟 |
专利法律状态
2018-12-25
授权
状态信息
授权
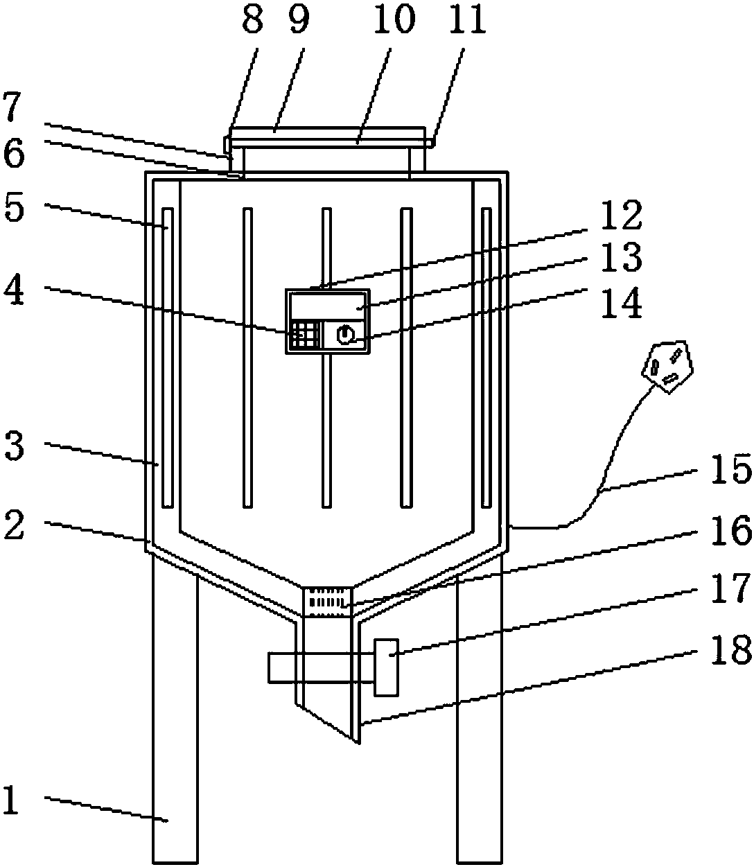
摘要
本实用新型公开了一种高分子材料热熔装置,包括保护套、热熔箱和活动盖,所述热熔箱的内侧安装有加热片,所述热熔箱的下端阵列开设有通孔,所述保护套套接在热熔箱的外侧,所述保护套的下端连通安装有出料管,所述出料管的中间处活动安装有活动阀,所述出料管位于活动阀的正下端,所述保护套的上端中间处开设有进料口,所述进料口的上端安装有进料管,所述活动盖的一侧通过铰链活动安装在进料管的上端,所述活动盖异于铰链的一侧安装有固定扣,所述活动盖的下端四周固定有密封垫,所述保护套的一侧外端安装有控制板,所述控制板通过导线与外接电源线电连接。本实用新型通过专门的对各种高分子材料进行热熔,提高了高分子材料产品的质量。


