授权公布号:CN208280356U
一种具有防护功能的外墙用隔音板
有效
申请
2018-06-26
申请公布
1970-01-01
授权
2018-12-25
预估到期
2028-06-26
| 申请号 | CN201820991068.4 |
| 申请日 | 2018-06-26 |
| 授权公布号 | CN208280356U |
| 授权公告日 | 2018-12-25 |
| 分类号 | E04B1/86 |
| 分类 | 建筑物; |
| 申请人名称 | 四川福美来新型建筑材料有限公司 |
| 申请人地址 | 四川省遂宁市大英县蓬莱镇工业集中发展区席家沟 |
专利法律状态
2018-12-25
授权
状态信息
授权
摘要
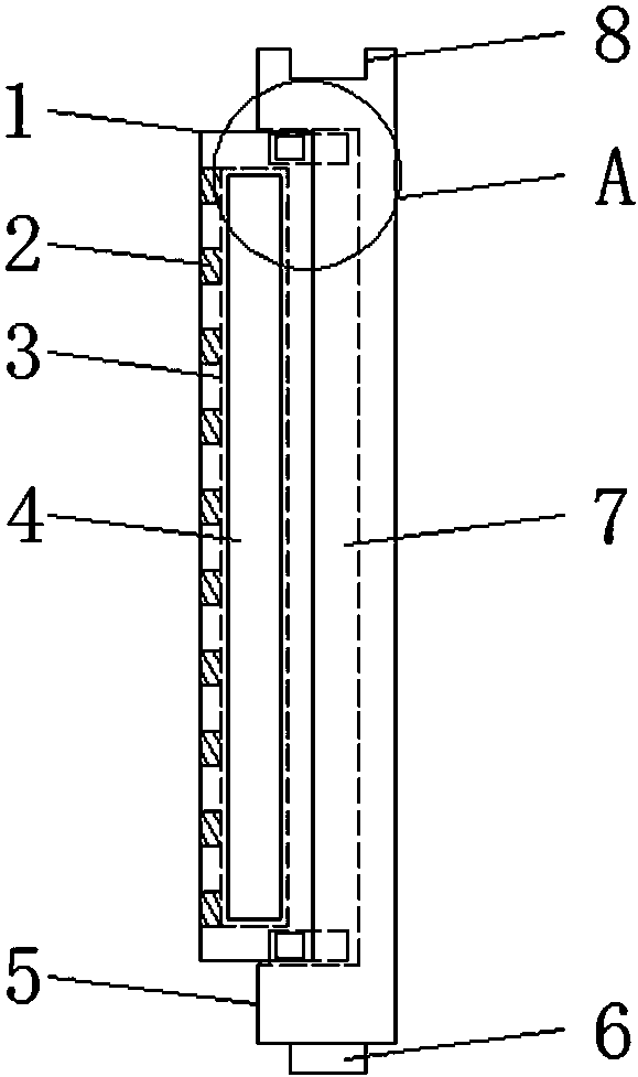
本实用新型公开了一种具有防护功能的外墙用隔音板,包括外墙板和滑块,所述外墙板的上端开设有第一插接槽,所述外墙板的下端固定有第一固定块,所述外墙板的一侧开设有第二插接槽,所述外墙板背离第二插接槽的一侧固定有第二固定块,所述外墙板的前端面中间处开设有压缩槽,所述压缩槽的开口处固定有密封圈,所述压缩槽两侧的两端均开设有滑道,所述滑块滑动安装在滑道内,所述第一固定块与第一插接槽相适配,第二固定块和第二插接槽相适配,第一固定块的长度大于第二固定块的长度,所述滑块共设有四个,所述隔音板的内部开设有放置槽。本实用新型具有双重的隔音效果保证隔音质量和具有防护功能,保护墙体免受外力撞击。


