授权公布号:CN210798642U
外开窗边框以及窗框组件
有效
申请
2019-08-26
申请公布
1970-01-01
授权
2020-06-19
预估到期
2029-08-26
| 申请号 | CN201921397145.4 |
| 申请日 | 2019-08-26 |
| 授权公布号 | CN210798642U |
| 授权公告日 | 2020-06-19 |
| 分类号 | E06B1/36 |
| 分类 | 一般门、窗、百叶窗或卷辊遮帘;梯子; |
| 申请人名称 | 广东蓝盾门业有限公司 |
| 申请人地址 | 广东省东莞市桥头镇桥新路1号 |
专利法律状态
2020-06-19
授权
状态信息
授权
摘要
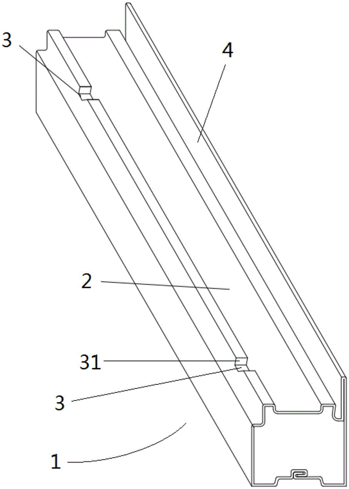
本实用新型提供的一种外开窗边框以及窗框组件,涉及窗户技术领域,包括:底边框;导水槽,所述导水槽设置在所述底边框的上表面,所述导水槽沿着所述底边框的长度方向设置;所述导水槽的靠近窗外的一侧槽边上设置有至少一个流水槽口;外开挡边,所述外开挡边设置在所述底边框的靠近窗内的一侧边上。所以,通过导水槽和流水槽口的结构设计,便可以适配外开的窗框和窗户结构,通过窗框的底边框将雨水导流至窗外,而防止雨水流到屋内。


